Datasheet LT1575, LT1577 (Analog Devices) - 9
| Manufacturer | Analog Devices |
| Description | Ultrafast Transient Response, Low Dropout Regulators Adjustable and Fixed |
| Pages / Page | 20 / 9 — BLOCK DIAGRAM. LT1575 Fixed Voltage |
| File Format / Size | PDF / 320 Kb |
| Document Language | English |
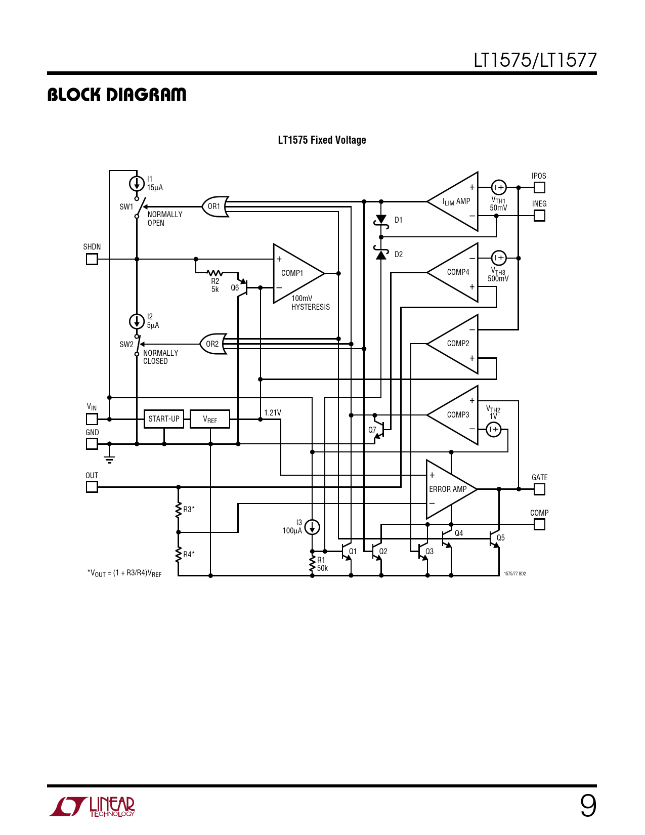
BLOCK DIAGRAM. LT1575 Fixed Voltage

Model Line for this Datasheet
Text Version of Document
LT1575/LT1577
W BLOCK DIAGRAM LT1575 Fixed Voltage
I1 IPOS – + 15µA + ILIM AMP VTH1 SW1 INEG OR1 50mV NORMALLY – OPEN D1 SHDN – + + D2 – COMP1 V COMP4 TH3 R2 500mV Q6 + 5k – 100mV HYSTERESIS I2 5µA – SW2 OR2 COMP2 NORMALLY + CLOSED + VIN VTH2 1.21V COMP3 1V START-UP VREF – – + GND Q7 OUT + GATE ERROR AMP – R3* COMP I3 100µA Q4 Q5 Q1 Q2 Q3 R4* R1 50k *V 1575/77 BD2 OUT = (1 + R3/R4)VREF 9