Preliminary Datasheet ATtiny261/V ATtiny461/V ATtiny861/V (Atmel) - 3
| Manufacturer | Atmel |
| Pages / Page | 236 / 3 — ATtiny261/461/861. Overview. 2.1. Block Diagram. Figure 2-1 |
| File Format / Size | PDF / 2.3 Mb |
| Document Language | English |
ATtiny261/461/861. Overview. 2.1. Block Diagram. Figure 2-1

Model Line for this Datasheet
Text Version of Document
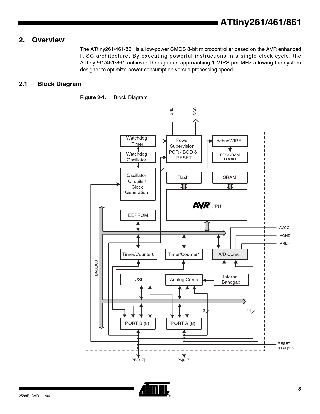
ATtiny261/461/861 2. Overview
The ATtiny261/461/861 is a low-power CMOS 8-bit microcontroller based on the AVR enhanced RISC architecture. By executing powerful instructions in a single clock cycle, the ATtiny261/461/861 achieves throughputs approaching 1 MIPS per MHz allowing the system designer to optimize power consumption versus processing speed.
2.1 Block Diagram Figure 2-1.
Block Diagram GND VCC Watchdog Power debugWIRE Timer Supervision POR / BOD & Watchdog PROGRAM RESET Oscillator LOGIC Oscillator Flash SRAM Circuits / Clock Generation CPU EEPROM AVCC AGND AREF Timer/Counter0 Timer/Counter1 A/D Conv. S U B ATA D Internal USI Analog Comp. Bandgap 3 11 PORT B (8) PORT A (8) RESET XTAL[1..2] PB[0..7] PA[0..7]
3
2588B–AVR–11/06 Document Outline Features 1. Pin Configurations 1.1 Disclaimer 2. Overview 2.1 Block Diagram 2.2 Pin Descriptions 2.2.1 VCC 2.2.2 GND 2.2.3 AVCC 2.2.4 AGND 2.2.5 Port A (PA7..PA0) 2.2.6 Port B (PB7..PB0) 2.2.7 RESET 3. Resources 4. About Code Examples 5. AVR CPU Core 5.1 Overview 5.2 ALU - Arithmetic Logic Unit 5.3 Status Register 5.3.1 SREG - AVR Status Register 5.4 General Purpose Register File 5.4.1 The X-register, Y-register, and Z-register 5.5 Stack Pointer 5.5.1 SPH and SPL - Stack Pointer Register 5.6 Instruction Execution Timing 5.7 Reset and Interrupt Handling 5.7.1 Interrupt Response Time 6. AVR Memories 6.1 In-System Re-programmable Flash Program Memory 6.2 SRAM Data Memory 6.2.1 Data Memory Access Times 6.3 EEPROM Data Memory 6.3.1 EEPROM Read/Write Access 6.3.2 Atomic Byte Programming 6.3.3 Split Byte Programming 6.3.4 Erase 6.3.5 Write 6.3.6 Preventing EEPROM Corruption 6.4 I/O Memory 6.4.1 General Purpose I/O Registers 6.5 Register Description 6.5.1 EEARH and EEARL - EEPROM Address Register 6.5.2 EEDR - EEPROM Data Register 6.5.3 EECR - EEPROM Control Register 6.5.4 GPIOR2 - General Purpose I/O Register 2 6.5.5 GPIOR1 - General Purpose I/O Register 1 6.5.6 GPIOR0 - General Purpose I/O Register 0 7. System Clock and Clock Options 7.1 Clock Systems and their Distribution 7.1.1 CPU Clock - clkCPU 7.1.2 I/O Clock - clkI/O 7.1.3 Flash Clock - clkFLASH 7.1.4 ADC Clock - clkADC 7.1.5 Internal PLL for Fast Peripheral Clock Generation - clkPCK 7.2 Clock Sources 7.3 Default Clock Source 7.4 External Clock 7.5 High Frequency PLL Clock - PLLCLK 7.6 Calibrated Internal RC Oscillator 7.7 128 kHz Internal Oscillator 7.8 Low-frequency Crystal Oscillator 7.9 Crystal Oscillator 7.10 Clock Output Buffer 7.11 System Clock Prescaler 7.11.1 Switching Time 7.12 Register Description 7.12.1 OSCCAL - Oscillator Calibration Register 7.12.2 CLKPR - Clock Prescale Register 8. Power Management and Sleep Modes 8.1 Sleep Modes 8.2 Idle Mode 8.3 ADC Noise Reduction Mode 8.4 Power-down Mode 8.5 Standby Mode 8.6 Power Reduction Register 8.7 Minimizing Power Consumption 8.7.1 Analog to Digital Converter 8.7.2 Analog Comparator 8.7.3 Brown-out Detector 8.7.4 Internal Voltage Reference 8.7.5 Watchdog Timer 8.7.6 Port Pins 8.8 Register Description 8.8.1 MCUCR - MCU Control Register 8.8.2 PRR - Power Reduction Register 9. System Control and Reset 9.0.1 Resetting the AVR 9.0.2 Reset Sources 9.0.3 Power-on Reset 9.0.4 External Reset 9.0.5 Brown-out Detection 9.0.6 Watchdog Reset 9.1 Internal Voltage Reference 9.1.1 Voltage Reference Enable Signals and Start-up Time 9.2 Watchdog Timer 9.3 Timed Sequences for Changing the Configuration of the Watchdog Timer 9.3.1 Safety Level 1 9.3.2 Safety Level 2 9.4 Register Description 9.4.1 MCUSR - MCU Status Register 9.4.2 WDTCR - Watchdog Timer Control Register 10. Interrupts 10.1 Interrupt Vectors in ATtiny261/461/861 11. External Interrupts 11.1 Register Description 11.1.1 MCUCR - MCU Control Register 11.1.2 GIMSK - General Interrupt Mask Register 11.1.3 GIFR - General Interrupt Flag Register 11.1.4 PCMSK0 - Pin Change Mask Register A 11.1.5 PCMSK1 - Pin Change Mask Register B 12. I/O Ports 12.1 Overview 12.2 Ports as General Digital I/O 12.2.1 Configuring the Pin 12.2.2 Toggling the Pin 12.2.3 Switching Between Input and Output 12.2.4 Reading the Pin Value 12.2.5 Digital Input Enable and Sleep Modes 12.2.6 Unconnected Pins 12.3 Alternate Port Functions 12.3.1 Alternate Functions of Port B 12.3.2 Alternate Functions of Port A 12.4 Register Description 12.4.1 MCUCR - MCU Control Register 12.4.2 PORTA - Port A Data Register 12.4.3 DDRA - Port A Data Direction Register 12.4.4 PINA - Port A Input Pins Address 12.4.5 PORTB - Port B Data Register 12.4.6 DDRB - Port B Data Direction Register 12.4.7 PINB - Port B Input Pins Address 13. Timer/Counter0 Prescaler 13.0.1 Prescaler Reset 13.0.2 External Clock Source 13.1 Register Description 13.1.1 TCCR0B - Timer/Counter0 Control Register B 14. Timer/Counter0 14.1 Features 14.2 Overview 14.2.1 Registers 14.2.2 Definitions 14.3 Timer/Counter Clock Sources 14.4 Counter Unit 14.5 Modes of Operation 14.5.1 Normal 8-bit Mode 14.5.2 Clear Timer on Compare Match (CTC) 8-bit Mode 14.5.3 16-bit Mode 14.5.4 8-bit Input Capture Mode 14.5.5 16-bit Input Capture Mode 14.6 Input Capture Unit 14.6.1 Input Capture Trigger Source 14.6.2 Noise Canceler 14.6.3 Using the Input Capture Unit 14.7 Output Compare Unit 14.7.1 Compare Match Blocking by TCNT0 Write 14.7.2 Using the Output Compare Unit 14.8 Timer/Counter Timing Diagrams 14.9 Accessing Registers in 16-bit Mode 14.9.1 Reusing the temporary high byte register 14.10 Register Description 14.10.1 TCCR0A - Timer/Counter0 Control Register A 14.10.2 TCNT0L - Timer/Counter0 Register Low Byte 14.10.3 TCNT0H - Timer/Counter0 Register High Byte 14.10.4 OCR0A - Timer/Counter0 Output Compare Register A 14.10.5 OCR0B - Timer/Counter0 Output Compare Register B 14.10.6 TIMSK - Timer/Counter0 Interrupt Mask Register 14.10.7 TIFR - Timer/Counter0 Interrupt Flag Register 15. Timer/Counter1 Prescaler 15.0.1 Prescaler Reset 15.0.2 Prescaler Initialization for Asynchronous Mode 15.1 Register Description 15.1.1 PLLCSR - PLL Control and Status Register 15.1.2 TCCR1B - Timer/Counter1 Control Register B 16. Timer/Counter1 16.1 Features 16.2 Overview 16.2.1 Speed 16.2.2 Accuracy 16.2.3 Registers 16.2.4 Synchronization 16.2.5 Definitions 16.3 Counter Unit 16.3.1 Counter Initialization for Asynchronous Mode 16.4 Output Compare Unit 16.4.1 Force Output Compare 16.4.2 Compare Match Blocking by TCNT1 Write 16.4.3 Using the Output Compare Unit 16.5 Dead Time Generator 16.6 Compare Match Output Unit 16.6.1 Compare Output Mode and Waveform Generation 16.7 Modes of Operation 16.7.1 Normal Mode 16.7.2 IFast PWM Mode 16.7.3 Phase and Frequency Correct PWM Mode 16.7.4 PWM6 Mode 16.8 Timer/Counter Timing Diagrams 16.9 Fault Protection Unit 16.9.1 Fault Protection Trigger Source 16.9.2 Noise Canceler 16.10 Accessing 10-Bit Registers 16.10.1 Reusing the temporary high byte register 16.11 Register Description 16.11.1 TCCR1A - Timer/Counter1 Control Register A 16.11.2 TCCR1B - Timer/Counter1 Control Register B 16.11.3 TCCR1C - Timer/Counter1 Control Register C 16.11.4 TCCR1D - Timer/Counter1 Control Register D 16.11.5 TCCR1E - Timer/Counter1 Control Register E 16.11.6 TCNT1 - Timer/Counter1 16.11.7 TC1H - Timer/Counter1 High Byte 16.11.8 OCR1A - Timer/Counter1 Output Compare Register A 16.11.9 OCR1B - Timer/Counter1 Output Compare Register B 16.11.10 OCR1C - Timer/Counter1 Output Compare Register C 16.11.11 OCR1D - Timer/Counter1 Output Compare Register D 16.11.12 TIMSK - Timer/Counter1 Interrupt Mask Register 16.11.13 TIFR - Timer/Counter1 Interrupt Flag Register 16.11.14 DT1 - Timer/Counter1 Dead Time Value 17. USI - Universal Serial Interface 17.1 Features 17.2 Overview 17.3 Functional Descriptions 17.3.1 Three-wire Mode 17.3.2 SPI Master Operation Example 17.3.3 SPI Slave Operation Example 17.3.4 Two-wire Mode 17.3.5 Start Condition Detector 17.4 Alternative USI Usage 17.4.1 Half-duplex Asynchronous Data Transfer 17.4.2 4-bit Counter 17.4.3 12-bit Timer/Counter 17.4.4 Edge Triggered External Interrupt 17.4.5 Software Interrupt 17.5 Register Descriptions 17.5.1 USIDR - USI Data Register 17.5.2 USIBR - USI Buffer Register 17.5.3 USISR - USI Status Register 17.5.4 USICR - USI Control Register 17.5.5 USIPP - USI Pin Position 18. AC - Analog Comparator 18.1 Register Description 18.1.1 ACSRA - Analog Comparator Control and Status Register A 18.2 Analog Comparator Multiplexed Input 18.2.1 ACSRB - Analog Comparator Control and Status Register B 19. ADC - Analog to Digital Converter 19.1 Features 19.2 Overview 19.3 Operation 19.4 Starting a Conversion 19.5 Prescaling and Conversion Timing 19.6 Changing Channel or Reference Selection 19.6.1 ADC Input Channels 19.6.2 ADC Voltage Reference 19.7 ADC Noise Canceler 19.7.1 Analog Input Circuitry 19.7.2 Analog Noise Canceling Techniques 19.7.3 ADC Accuracy Definitions 19.8 ADC Conversion Result 19.8.1 Single Ended Conversion 19.8.2 Unipolar Differential Conversion 19.8.3 Bipolar Differential Conversion 19.9 Temperature Measurement 19.10 Register Descriptin 19.10.1 ADMUX - ADC Multiplexer Selection Register 19.10.2 ADCSRA - ADC Control and Status Register A 19.10.3 ADCL and ADCH - The ADC Data Register 19.10.3.1 ADLAR = 0 19.10.3.2 ADLAR = 1 19.10.4 ADCSRB - ADC Control and Status Register B 19.10.5 DIDR0 - Digital Input Disable Register 0 19.10.6 DIDR1 - Digital Input Disable Register 1 20. debugWIRE On-chip Debug System 20.1 Features 20.2 Overview 20.3 Physical Interface 20.4 Software Break Points 20.5 Limitations of debugWIRE 20.6 Register Description 20.6.1 DWDR - debugWire Data Register 21. Self-Programming the Flash 21.0.1 Performing Page Erase by SPM 21.0.2 Filling the Temporary Buffer (Page Loading) 21.0.3 Performing a Page Write 21.1 Addressing the Flash During Self-Programming 21.1.1 EEPROM Write Prevents Writing to SPMCSR 21.1.2 Reading the Fuse and Lock Bits from Software 21.1.3 Preventing Flash Corruption 21.1.4 Programming Time for Flash when Using SPM 21.2 Register Description 21.2.1 SPMCSR - Store Program Memory Control and Status Register 22. Memory Programming 22.1 Program And Data Memory Lock Bits 22.2 Fuse Bytes 22.2.1 Latching of Fuses 22.3 Signature Bytes 22.4 Calibration Byte 22.5 Page Size 22.6 Parallel Programming Parameters, Pin Mapping, and Commands 22.6.1 Signal Names 22.7 Parallel Programming 22.7.1 Enter Programming Mode 22.7.2 Considerations for Efficient Programming 22.7.3 Chip Erase 22.7.4 Programming the Flash 22.7.5 Programming the EEPROM 22.7.6 Reading the Flash 22.7.7 Reading the EEPROM 22.7.8 Programming the Fuse Low Bits 22.7.9 Programming the Fuse High Bits 22.7.10 Programming the Extended Fuse Bits 22.7.11 Programming the Lock Bits 22.7.12 Reading the Fuse and Lock Bits 22.7.13 Reading the Signature Bytes 22.7.14 Reading the Calibration Byte 22.8 Serial Downloading 22.8.1 Serial Programming Algorithm 22.8.2 Serial Programming Instruction set 23. Electrical Characteristics 23.1 Absolute Maximum Ratings* 23.2 DC Characteristics 23.3 Speed Grades 23.4 Clock Characteristics 23.4.1 Calibrated Internal RC Oscillator Accuracy 23.4.2 External Clock Drive Waveforms 23.4.3 External Clock Drive 23.5 System and Reset Characteristics 23.6 ADC Characteristics - Preliminary Data 23.7 Parallel Programming Characteristics 23.8 Serial Programming Characteristics 24. Typical Characteristics 24.1 Active Supply Current 24.2 Idle Supply Current 24.3 Supply Current of I/O modules Example 24.4 Power-down Supply Current 24.5 Pin Pull-up 24.6 Pin Driver Strength 24.7 Pin Threshold and Hysteresis 24.8 BOD Threshold and Analog Comparator Offset 24.9 Internal Oscillator Speed 24.10 Current Consumption of Peripheral Units 24.11 Current Consumption in Reset and Reset Pulsewidth 25. Register Summary 26. Instruction Set Summary 27. Ordering Information 27.1 ATtiny261 27.2 ATtiny461 27.3 ATtiny861 28. Packaging Information 28.1 32M1-A 28.2 20P3 28.3 20S2 29. Errata 29.1 Errata ATtiny261 29.1.1 Rev A 29.2 Errata ATtiny461 29.2.1 Rev B 29.2.2 Rev A 29.3 Errata ATtiny861 29.3.1 Rev B 29.3.2 Rev A 30. Datasheet Revision History 30.1 Rev. 2588A - 11/06 30.2 Rev. 2588A - 10/06 Table of Contents