Datasheet AD581 (Analog Devices) - 10

ManufacturerAnalog Devices
DescriptionHigh Precision 10 V IC Reference
Pages / Page12 / 10 — AD581. –15V. +5V. 1.2kΩ. GAIN TRIM1. AD7574 18. GND. R2 2kΩ. (TOP VIEW). …
RevisionC
File Format / SizePDF / 330 Kb
Document LanguageEnglish

AD581. –15V. +5V. 1.2kΩ. GAIN TRIM1. AD7574 18. GND. R2 2kΩ. (TOP VIEW). –10V REF. DIGITAL. OUT. R1 1kΩ 10%1. SUPPLY. SIGNAL. RETURN. 0.1µF. INPUT

AD581 –15V +5V 1.2kΩ GAIN TRIM1 AD7574 18 GND R2 2kΩ (TOP VIEW) –10V REF DIGITAL OUT R1 1kΩ 10%1 SUPPLY SIGNAL RETURN 0.1µF INPUT

Model Line for this Datasheet

Text Version of Document

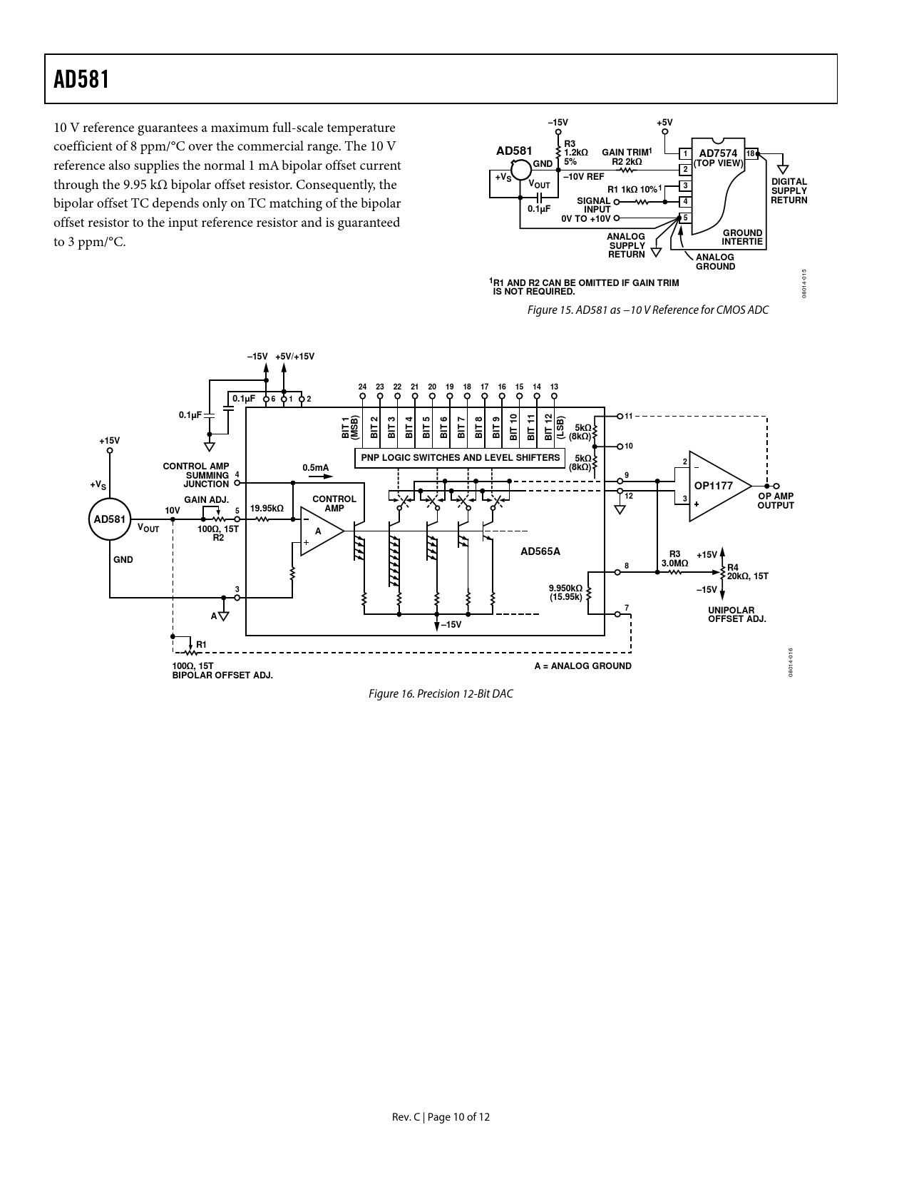
AD581
10 V reference guarantees a maximum full-scale temperature
–15V +5V
coefficient of 8 ppm/°C over the commercial range. The 10 V
R3 AD581 1.2kΩ GAIN TRIM1 1 AD7574 18
reference also supplies the normal 1 mA bipolar offset current
5% GND R2 2kΩ (TOP VIEW) 2 +V –10V REF
through the 9.95 kΩ bipolar offset resistor. Consequently, the
S V DIGITAL OUT 3 R1 1kΩ 10%1 SUPPLY
bipolar offset TC depends only on TC matching of the bipolar
SIGNAL 4 RETURN 0.1µF INPUT
offset resistor to the input reference resistor and is guaranteed
5 0V TO +10V GROUND
to 3 ppm/°C.
ANALOG INTERTIE SUPPLY RETURN ANALOG GROUND
15 0
1R1 AND R2 CAN BE OMITTED IF GAIN TRIM
4-
IS NOT REQUIRED.
01 08 Figure 15. AD581 as −10 V Reference for CMOS ADC
–15V +5V/+15V 24 23 22 21 20 19 18 17 16 15 14 13 0.1µF 6 1 2 0.1µF ) ) 11 1 B 2 3 4 5 6 7 8 9 T T T T T T T T T 10 11 12 T T T SB 5kΩ BI (MS BI BI BI BI BI BI BI BI BI BI BI (L (8kΩ) +15V 10 PNP LOGIC SWITCHES AND LEVEL SHIFTERS 5kΩ 2 CONTROL AMP 0.5mA (8kΩ) SUMMING 4 9 +V JUNCTION S OP1177 12 OP AMP GAIN ADJ. CONTROL 3 OUTPUT 19.95kΩ AMP 10V 5 AD581 VOUT 100Ω, 15T A R2 AD565A R3 +15V GND 3.0MΩ 8 R4 20kΩ, 15T 3 9.950kΩ –15V (15.95k) 7 UNIPOLAR A OFFSET ADJ. –15V R1
16 0 4-
100Ω, 15T A = ANALOG GROUND
01
BIPOLAR OFFSET ADJ.
08 Figure 16. Precision 12-Bit DAC Rev. C | Page 10 of 12 Document Outline FEATURES FUNCTIONAL BLOCK DIAGRAM GENERAL DESCRIPTION PRODUCT HIGHLIGHTS TABLE OF CONTENTS REVISION HISTORY SPECIFICATIONS ABSOLUTE MAXIMUM RATINGS ESD CAUTION APPLYING THE AD581 VOLTAGE VARIATION vs. TEMPERATURE OUTPUT CURRENT CHARACTERISTICS DYNAMIC PERFORMANCE PRECISION HIGH CURRENT SUPPLY CONNECTION FOR REDUCED PRIMARY SUPPLY THE AD581 AS A CURRENT LIMITER NEGATIVE 10 V REFERENCE 10 V REFERENCE WITH MULTIPLYING CMOS DACs OR ADCs PRECISION 12-BIT DAC REFERENCE OUTLINE DIMENSIONS ORDERING GUIDE