Datasheet LT3652HV (Analog Devices) - 9
| Manufacturer | Analog Devices |
| Description | Power Tracking 2A Battery Charger |
| Pages / Page | 24 / 9 — BLOCK DIAGRAM |
| File Format / Size | PDF / 498 Kb |
| Document Language | English |
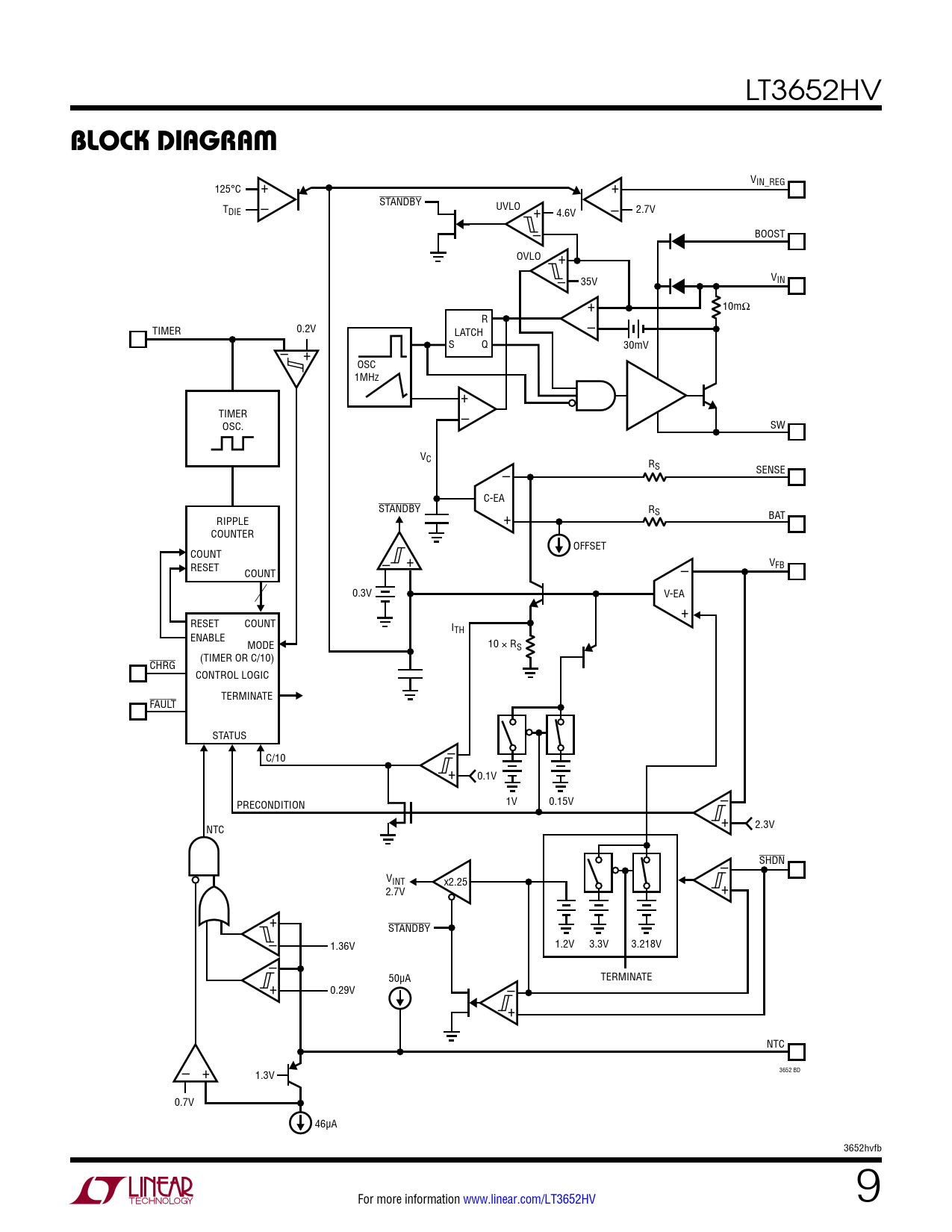
BLOCK DIAGRAM

Model Line for this Datasheet
Text Version of Document
LT3652HV
BLOCK DIAGRAM
+ 125°C + VIN_REG STANDBY – T + DIE – UVLO 4.6V 2.7V – BOOST OVLO + – 35V VIN + 10mΩ R TIMER 0.2V LATCH – – + S Q 30mV OSC 1MHz + TIMER – OSC. SW VC RS SENSE – C-EA STANDBY RS BAT RIPPLE + COUNTER OFFSET COUNT – + RESET COUNT – VFB 0.3V V-EA + RESET COUNT ITH ENABLE MODE 10 × RS (TIMER OR C/10) CHRG CONTROL LOGIC TERMINATE FAULT STATUS – C/10 + 0.1V – PRECONDITION 1V 0.15V + 2.3V NTC – SHDN VINT x2.25 + 2.7V + – STANDBY 1.36V 1.2V 3.3V 3.218V – + 50µA – TERMINATE 0.29V + NTC 3652 BD – + 1.3V 0.7V 46µA 3652hvfb For more information www.linear.com/LT3652HV 9 Document Outline Features Applications Description Typical Application Absolute Maximum Ratings Pin Configuration Order Information Electrical Characteristics Typical Performance Characteristics Pin Functions Block Diagram Applications Information Typical Applications Package Description Revision History Typical Application Related Parts