Datasheet LTC3631 (Analog Devices) - 7
| Manufacturer | Analog Devices |
| Description | High Efficiency, High Voltage 100mA Synchronous Step-Down Converter |
| Pages / Page | 22 / 7 — block DiagraM. 0.800V. PART. NUMBER |
| File Format / Size | PDF / 538 Kb |
| Document Language | English |
block DiagraM. 0.800V. PART. NUMBER

Model Line for this Datasheet
Text Version of Document
LTC3631
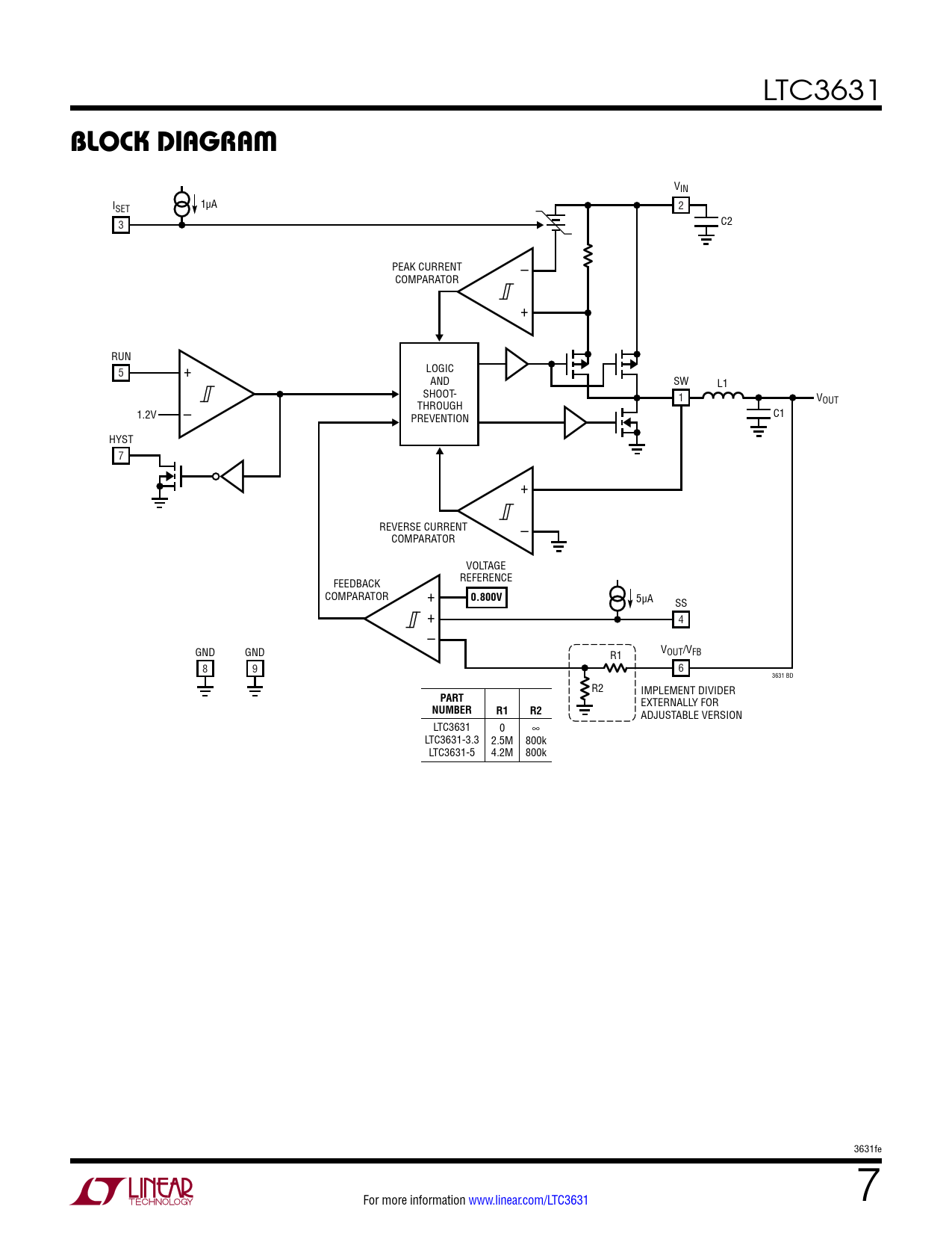
block DiagraM
VIN ISET 1µA 2 3 C2 – PEAK CURRENT COMPARATOR + RUN 5 + LOGIC AND SW L1 SHOOT- 1 VOUT 1.2V – THROUGH PREVENTION C1 HYST 7 + REVERSE CURRENT – COMPARATOR VOLTAGE REFERENCE FEEDBACK COMPARATOR +
0.800V
5µA SS + 4 – GND GND R1 VOUT/VFB 8 9 6 3631 BD R2 IMPLEMENT DIVIDER
PART
EXTERNALLY FOR
NUMBER R1 R2
ADJUSTABLE VERSION LTC3631 0 ∞ LTC3631-3.3 2.5M 800k LTC3631-5 4.2M 800k 3631fe For more information www.linear.com/LTC3631 7 Document Outline Features Description Applications Typical Application Absolute Maximum Ratings Pin Configuration Electrical Characteristics Typical Performance Characteristics Pin Functions Block Diagram Operation Applications Information Typical Application Related Parts