Datasheet LTC3607 (Analog Devices) - 7
| Manufacturer | Analog Devices |
| Description | Dual 600mA 15V Monolithic Synchronous Step-Down DC/DC Regulator |
| Pages / Page | 20 / 7 — block DiagraM |
| File Format / Size | PDF / 374 Kb |
| Document Language | English |
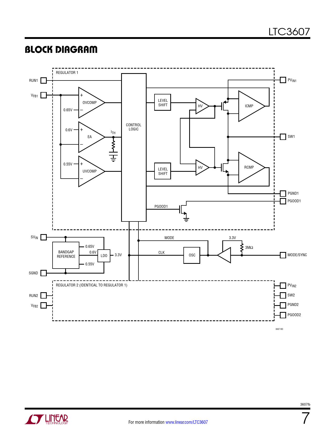
block DiagraM

Model Line for this Datasheet
Text Version of Document
LTC3607
block DiagraM
REGULATOR 1 RUN1 PVIN1 VFB1 + LEVEL OVCOMP SHIFT HV ICMP 0.65V – CONTROL 0.6V + LOGIC ITH EA SW1 – 0.55V + HV RCMP LEVEL UVCOMP SHIFT – PGND1 PGOOD1 PGOOD1 SVIN MODE 3.3V 0.65V 3MΩ BANDGAP 0.6V CLK REFERENCE LDO 3.3V OSC MODE/SYNC 0.55V SGND REGULATOR 2 (IDENTICAL TO REGULATOR 1) PVIN2 RUN2 SW2 V PGND2 FB2 PGOOD2 3607 BD 3607fb For more information www.linear.com/LTC3607 7 Document Outline Features Description Applications Typical Application Absolute Maximum Ratings Pin Configuration Order Information Electrical Characteristics Typical Performance Characteristics Pin Functions Block Diagram Operation Applications Information Typical Applications Package Description Revision History Typical Application Related Parts