Datasheet LTC3418 (Analog Devices) - 7
| Manufacturer | Analog Devices |
| Description | 8A, 4MHz, Monolithic Synchronous Step-Down Regulator |
| Pages / Page | 22 / 7 — block DiagraM |
| File Format / Size | PDF / 494 Kb |
| Document Language | English |
block DiagraM

Model Line for this Datasheet
Text Version of Document
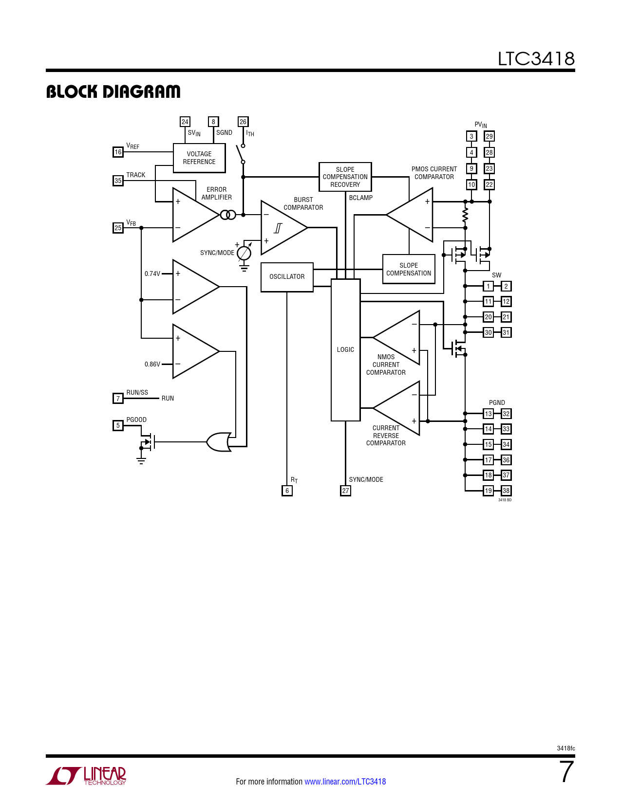
LTC3418
block DiagraM
24 8 26 PVIN SVIN SGND ITH 3 29 VREF 16 VOLTAGE 4 28 REFERENCE SLOPE PMOS CURRENT 9 23 TRACK COMPENSATION COMPARATOR 35 RECOVERY 10 22 ERROR + AMPLIFIER BURST BCLAMP + COMPARATOR – V 25 FB – – + + SYNC/MODE SLOPE 0.74V + OSCILLATOR COMPENSATION SW 1 2 – 11 12 – 20 21 30 31 + + LOGIC NMOS 0.86V – CURRENT COMPARATOR – RUN/SS 7 RUN PGND + 13 32 PGOOD 5 CURRENT 14 33 REVERSE COMPARATOR 15 34 17 36 18 37 RT SYNC/MODE 6 27 19 38 3418 BD 3418fc For more information www.linear.com/LTC3418 7 Document Outline Description Typical Application Absolute Maximum Ratings Pin Configuration Electrical Characteristics Typical Performance Characteristics Pin Functions Block Diagram Operation Applications Information Package Description Typical Application Related Parts