Datasheet E523.81 (Elmos) - 2

ManufacturerElmos
Description500 mA Sinusoidal BLDC Motor Controller
Pages / Page68 / 2 — 500 mA Sinusoidal BLDC Motor Controller. E523.81. Functional Diagram. Pin …
File Format / SizePDF / 1.4 Mb
Document LanguageEnglish

500 mA Sinusoidal BLDC Motor Controller. E523.81. Functional Diagram. Pin Configuration

500 mA Sinusoidal BLDC Motor Controller E523.81 Functional Diagram Pin Configuration

Model Line for this Datasheet

Text Version of Document

500 mA Sinusoidal BLDC Motor Controller E523.81
Production Data – May 15, 2018
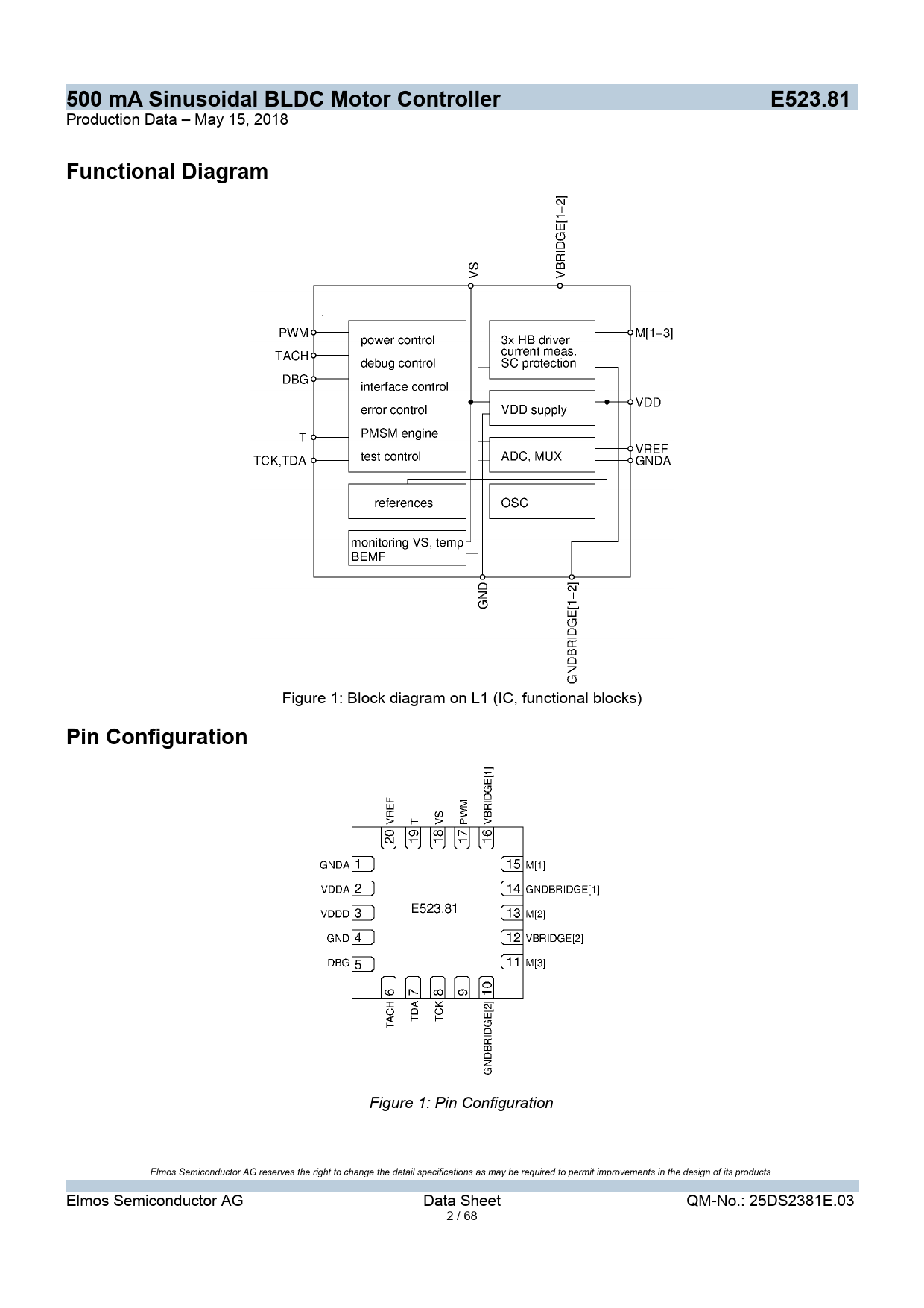
Functional Diagram
Figure 1: Block diagram on L1 (IC, functional blocks)
Pin Configuration
Figure 1: Pin Configuration Elmos Semiconductor AG reserves the right to change the detail specifications as may be required to permit improvements in the design of its products. Elmos Semiconductor AG Data Sheet QM-No.: 25DS2381E.03 2 / 68 Document Outline Features Applications General Description Ordering Information Typical Operating Circuit Functional Diagram Pin Configuration Pin Description 1 Absolute Maximum Ratings 2 ESD 3 Recommended Operating Conditions 4 Electrical Characteristics 4.1 Clock System 4.2 I/O Peripherals 4.2.1 PWM Speed Input 4.2.2 Low Voltage Digital I/O Pins 4.3 PMSM Motion Control Unit 4.3.1 Speed Control 4.4 System Control 4.4.1 Error Detection and Behaviour 4.4.1.1 High Temperature Speed Reduction and Shut Down 4.4.1.2 Low Load Detection 4.5 Power Supply 4.5.1 VDD Supply 4.6 Integrated Motor Bridge 4.6.1 "Small" Bridge Parametrical Description 4.7 Monitoring and Measurements 4.7.1 Temperature Monitoring 4.7.2 VS Measurement 5 Functional Description 5.1 Overview 5.2 Block Diagrams 5.3 System Level Motor Interface and Error Interface 5.3.1 Motor Interface 5.3.1.1 Goal Speed Input 5.3.2 Error Interface 5.3.3 TACHO Output 5.4 Clock System 5.5 I/O Peripherals 5.5.1 PWM Speed Input 5.5.2 Three Level Test Pin 5.6 PMSM Motion Control Unit 5.6.1 PMSM Control Principle 5.6.1.1 Startup 5.6.1.2 Closed Loop Control 5.6.2 State Machine 5.6.2.1 State Off 5.6.2.2 State Forward Synchronisation 5.6.2.3 State Current Rampup 5.6.2.4 Rotor Settling 5.6.2.5 State Startup RPM Ramp 5.6.2.6 State Closed Loop Control 1 5.6.2.7 State Forward Synchronisation 5.6.2.8 State Closed Loop Control 5.6.3 Speed Control 5.6.4 Phase Voltage Generation 5.6.4.1 PWM Generation 5.6.4.1.1 Principle 5.6.4.1.2 Current Measurement Trigger Generation 5.6.4.2 Averaged Voltage Generation 5.6.4.2.1 Look up Table 5.6.4.3 Look up Table Address Generation 5.6.4.4 Speed Ramp Generator 5.6.4.5 Pll Prescaler Adjust Unit 5.6.4.6 Fundamental Frequency Base Generation 5.6.5 ADC Calculations 5.6.5.1 ADC Current Measurement 5.6.5.1.1 Current Filter 5.6.5.2 BEMF Measurement and Calculation 5.6.5.2.1 Phase Voltage Measurement 5.6.5.2.2 BEMF Calculation 5.6.6 Current Control/Limitation 5.6.7 Stall Detection 5.6.7.1 Current Slope Based Stall Detection 5.6.7.2 Field Speed Based Stall Detection 5.6.7.3 Motor Constant Based Stall Detection 5.6.7.4 Synchronisation Based Stall Detection 5.6.7.5 Current Zero Crossing Observation 5.6.8 Current Direction Detection 5.6.9 Angle Controller 5.6.9.1 Goal Angle Calculation 5.6.9.2 Angle Difference Calculation 5.6.9.3 Generator Detection 5.6.9.4 Frequency Correction 5.6.10 Motor Synchronisation 5.7 System Control 5.7.1 Power up Behaviour 5.7.2 Error Detection and Behaviour 5.7.2.1 High Temperature Speed Reduction and Shut Down 5.7.2.2 High Temperature Current Reduction 5.7.2.3 Low Load Detection 5.7.2.4 Rotor Blockage Detection and Reaction 5.7.2.4.1 Detection 5.7.2.4.2 Reaction 5.7.2.5 Short Circuit Reaction 5.8 System Configuration 5.8.1 Debugging and Configuration Interface 5.8.1.1 Control and State Machine Disabling Functions 5.8.1.2 Observing Special Internal Signals 5.9 Power Supply 5.9.1 Supply Overview IC Supply Only 5.9.2 VDD Supply 5.9.3 References 5.10 Integrated Motor Bridge 5.11 Monitoring and Measurements 5.11.1 Monitoring Principle 5.11.2 Temperature Monitoring 5.11.3 VS Measurement 5.11.4 BEMF Measurement 5.11.5 ADC Reference 5.12 OTP 6 Package Reference 7 Typical Applications 8 Revision History 9 General 9.1 WARNING - Life Support Applications Policy 9.2 General Disclaimer 9.3 Application Disclaimer 10 Contact Info 11 Contents