Datasheet ADN2805 (Analog Devices) - 5
| Manufacturer | Analog Devices |
| Description | 1.25 Gbps Clock and Data Recovery IC |
| Pages / Page | 16 / 5 — Data Sheet. ADN2805. Timing Characteristics. CLKOUTP. DATAOUTP/. … |
| Revision | B |
| File Format / Size | PDF / 293 Kb |
| Document Language | English |
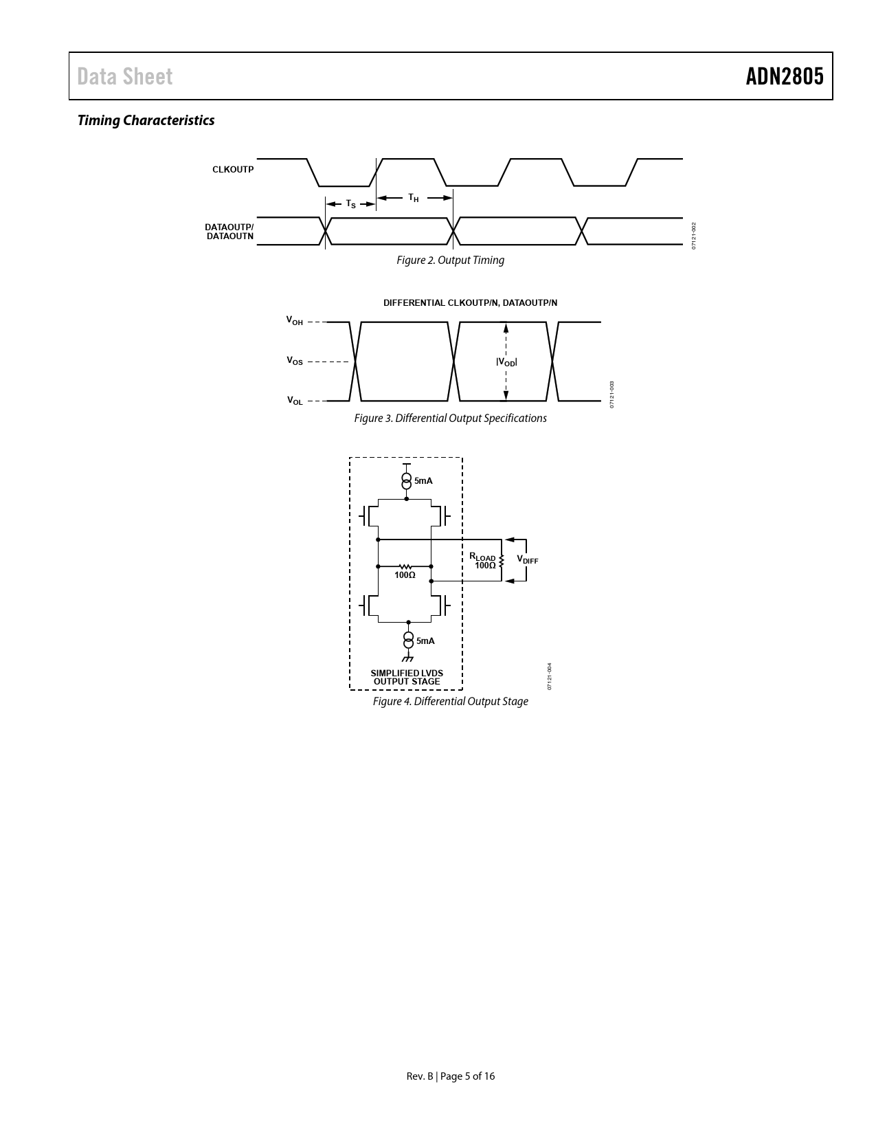
Data Sheet. ADN2805. Timing Characteristics. CLKOUTP. DATAOUTP/. DATAOUTN. DIFFERENTIAL CLKOUTP/N, DATAOUTP/N. VOH. VOS. |VOD|. 5mA. RLOAD

Model Line for this Datasheet
Text Version of Document
Data Sheet ADN2805 Timing Characteristics CLKOUTP T T H S DATAOUTP/
2 00
DATAOUTN
1- 712 0 Figure 2. Output Timing
DIFFERENTIAL CLKOUTP/N, DATAOUTP/N VOH VOS |VOD|
3 00
V
21-
OL
71 0 Figure 3. Differential Output Specifications
5mA RLOAD V 100Ω DIFF 100Ω 5mA
04
SIMPLIFIED LVDS
0 1-
OUTPUT STAGE
12 07 Figure 4. Differential Output Stage Rev. B | Page 5 of 16 Document Outline FEATURES APPLICATIONS GENERAL DESCRIPTION FUNCTIONAL BLOCK DIAGRAM TABLE OF CONTENTS REVISION HISTORY SPECIFICATIONS JITTER SPECIFICATIONS OUTPUT AND TIMING SPECIFICATIONS Timing Characteristics ABSOLUTE MAXIMUM RATINGS THERMAL CHARACTERISTICS Thermal Resistance ESD CAUTION PIN CONFIGURATION AND FUNCTION DESCRIPTIONS I2C INTERFACE TIMING AND INTERNAL REGISTER DESCRIPTION THEORY OF OPERATION FUNCTIONAL DESCRIPTION FREQUENCY ACQUISITION INPUT BUFFER LOCK DETECTOR OPERATION Normal Mode LOL Detector Operation Using a Reference Clock Static LOL Mode SQUELCH MODE SYSTEM RESET I2C INTERFACE APPLICATIONS INFORMATION PCB DESIGN GUIDELINES Power Supply Connections and Ground Planes Transmission Lines Soldering Guidelines for Lead Frame Chip Scale Package OUTLINE DIMENSIONS ORDERING GUIDE