Datasheet 5X1503 (IDT) - 3
| Manufacturer | IDT |
| Description | MicroClock Programmable Clock Generator with Embedded Crystal |
| Pages / Page | 28 / 3 — Block Diagram. Pin Assignments Figure 1. Pin Assignments for 2.0 × 2.0 mm … |
| Revision | 20190619 |
| File Format / Size | PDF / 401 Kb |
| Document Language | English |
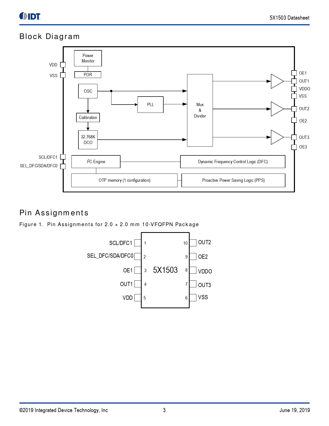
Block Diagram. Pin Assignments Figure 1. Pin Assignments for 2.0 × 2.0 mm 10-VFQFPN Package

Model Line for this Datasheet
Text Version of Document
5X1503 Datasheet
Block Diagram
Power Monitor VDD OE1 POR VSS OUT1 OSC VDDO VSS PLL Mux OUT2 & Calibration Divider OE2 32.768K OUT3 DCO OE3 SCL/DFC1 I2C Engine Dynamic Frequency Control Logic (DFC) SEL_DFC/SDA/DFC0 OTP memory (1 configuration) Proactive Power Saving Logic (PPS)
Pin Assignments Figure 1. Pin Assignments for 2.0 × 2.0 mm 10-VFQFPN Package
SCL/DFC1 1 10 OUT2 SEL_DFC/SDA/DFC0 2 9 OE2 OE1 3 5X1503 8 VDDO OUT1 4 7 OUT3 VDD 5 6 VSS ©2019 Integrated Device Technology, Inc 3 June 19, 2019 Document Outline Description Typical Applications Features Output Features Key Specifications Block Diagram Pin Assignments Figure 1. Pin Assignments for 2.0 × 2.0 mm 10-VFQFPN Package Pin Descriptions Table 1. Pin Descriptions Device Feature and Function DFC – Dynamic Frequency Control Figure 2. DFC Function Block Diagram Table 2. DFC Function Priority DFC Function Programming PPS – Proactive Power Saving Function Figure 3. PPS Function Block Diagram Figure 4. PPS Assertion/Deassertion Timing Chart PPS Function Programming Output Divider Selection Table 3. Output Divider Selection Device Output Support 5X1503 5X1503L 5X1503S Input Pin Function Table 4. OE Pin Function Table 5. OE Pin Function Summary Table 6. PD# Priority Spread Spectrum Spread Spectrum Digital Spread Spectrum Figure 5. Digital Spread Spectrum Absolute Maximum Ratings Table 7. Absolute Maximum Ratings Thermal Characteristics Table 8. Thermal Characteristics Recommended Operating Conditions Table 9. Recommended Operating Conditions Crystal Characteristics Table 10. Embedded Crystal Characteristics DC Electrical Characteristics Table 11. DC Electrical Characteristics – Current Table 12. DC Electrical Characteristics – Input and Output Voltage AC Electrical Characteristics Table 13. AC Timing Electrical Characteristics I2C Bus DC Characteristics Table 14. I2C Bus DC Characteristics Table 15. I2C Bus AC Characteristics Spread Spectrum Generation Specifications Table 16. Spread Spectrum Generation Specifications (5X1503S only) General I2C Interface Information How to Write How to Read Glossary of Features Table 17. Glossary of Features Package Outline Drawings Ordering Information Marking Diagrams Revision History