Datasheet TLP2108 (Toshiba) - 9
| Manufacturer | Toshiba |
| Description | Photocouplers GaAℓAs Infrared LED & Photo IC |
| Pages / Page | 18 / 9 — TLP2108. 14. Land. Pattern. Dimensions. (for. reference. only). (Unit:. … |
| File Format / Size | PDF / 513 Kb |
| Document Language | English |
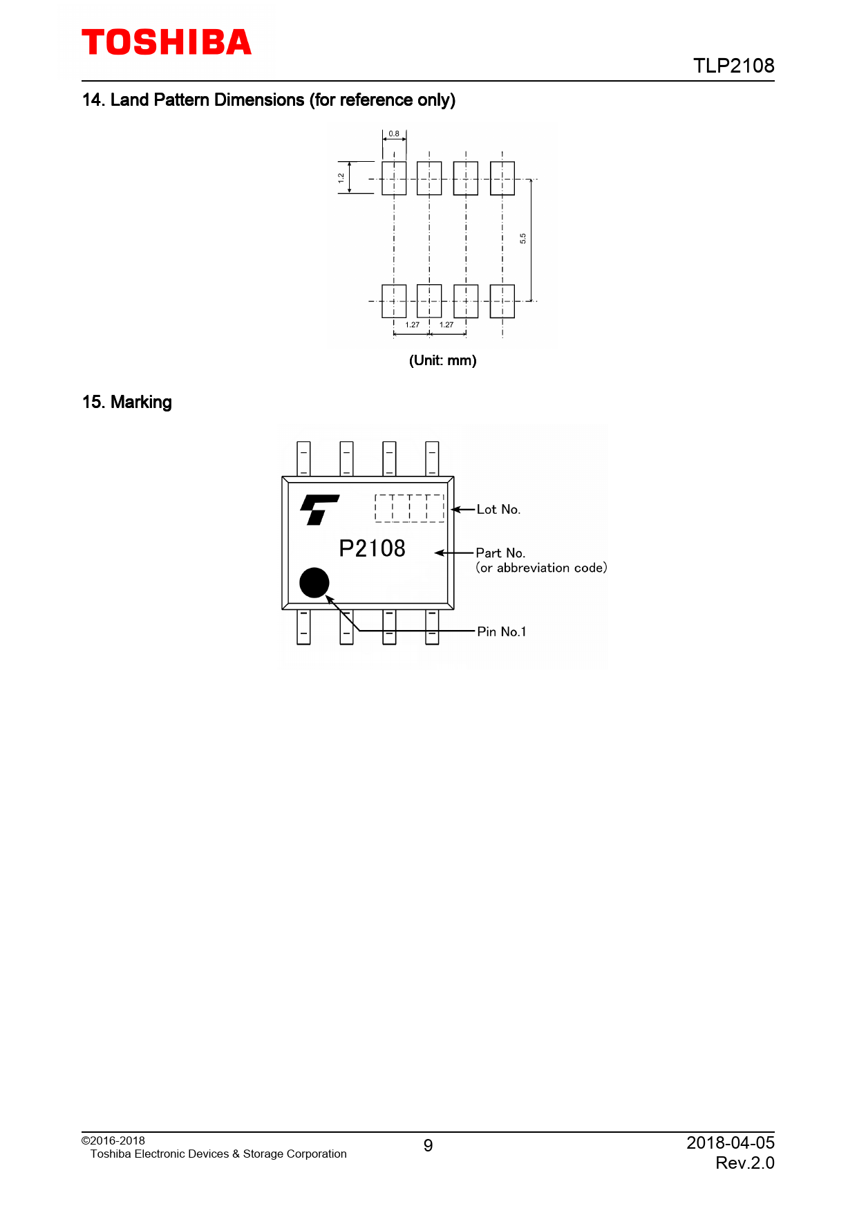
TLP2108. 14. Land. Pattern. Dimensions. (for. reference. only). (Unit:. mm). 15. Marking. ©2016-2018. 9. 2018-04-05. Toshiba. Electronic. Devices. &

Model Line for this Datasheet
Text Version of Document
TLP2108 14. Land Pattern Dimensions (for reference only) (Unit: mm) 15. Marking ©2016-2018 9 2018-04-05 Toshiba Electronic Devices & Storage Corporation Rev.2.0