Product Specification GLF74130 (GLF Integrated Power) - 2
| Manufacturer | GLF Integrated Power |
| Description | Ultra-High-Efficiency 4.5A Two-Input Power Mux for IoT Applications |
| Pages / Page | 3 / 2 — GLF74130. 4.5A Power Mux Switch with Auto & Manual Input Selection. … |
| File Format / Size | PDF / 351 Kb |
| Document Language | English |
GLF74130. 4.5A Power Mux Switch with Auto & Manual Input Selection. APPLICATION DIAGRAM. FUNCTIONAL BLOCK DIAGRAM. VIN1. VOUT

Model Line for this Datasheet
Text Version of Document
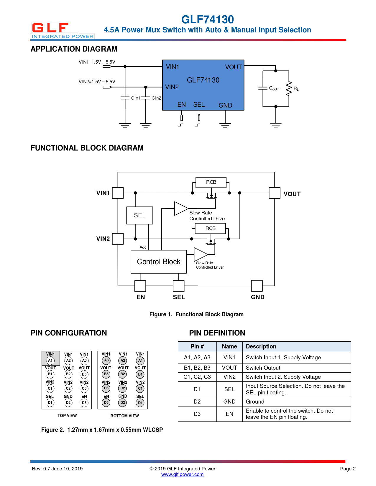
GLF74130 4.5A Power Mux Switch with Auto & Manual Input Selection APPLICATION DIAGRAM
VI N1=1.5V – 5.5V VIN1 VOUT VI N2=1.5V – 5.5V GLF74130 VIN2 COUT RL Cin1 Cin2 EN SEL GND
FUNCTIONAL BLOCK DIAGRAM
RCB
VIN1 VOUT
SEL Slew Rate Control ed Driver RCB
VIN2 Vcc
Control Block Slew Rate Controlled Driver
EN SEL GND Figure 1. Functional Block Diagram PIN CONFIGURATION PIN DEFINITION Pin # Name Description VIN1 VIN1 VIN1 VIN1 VIN1 VIN1
A1, A2, A3 VIN1 Switch Input 1. Supply Voltage
A1 A2 A3 A3 A2 A1 VOUT VOUT VOUT VOUT VOUT VOUT
B1, B2, B3 VOUT Switch Output
B1 B2 B3 B3 B2 B1
C1, C2, C3 VIN2 Switch Input 2. Supply Voltage
VIN2 VIN2 VIN2 VIN2 VIN2 VIN2
Input Source Selection. Do not leave the
C1 C2 C3 C3 C2 C1
D1 SEL SEL pin floating.
SEL GND EN EN GND SEL D1 D2 D3 D3 D2 D1
D2 GND Ground Enable to control the switch. Do not D3 EN
TOP VIEW BOTTOM VIEW
leave the EN pin floating.
Figure 2. 1.27mm x 1.67mm x 0.55mm WLCSP
Rev. 0.7,June 10, 2019 © 2019 GLF Integrated Power Page 2 www.glfipower.com