Datasheet ADT7316, ADT7317, ADT7318 (Analog Devices) - 6

ManufacturerAnalog Devices
Description±0.5°C Accurate Digital Temperature Sensor and Quad Voltage Output 8-Bit DACs
Pages / Page44 / 6 — ADT7316/ADT7317/ADT7318. GAIN ERROR. OFFSET ERROR. OUTPUT. VOLTAGE. …
RevisionB
File Format / SizePDF / 4.0 Mb
Document LanguageEnglish

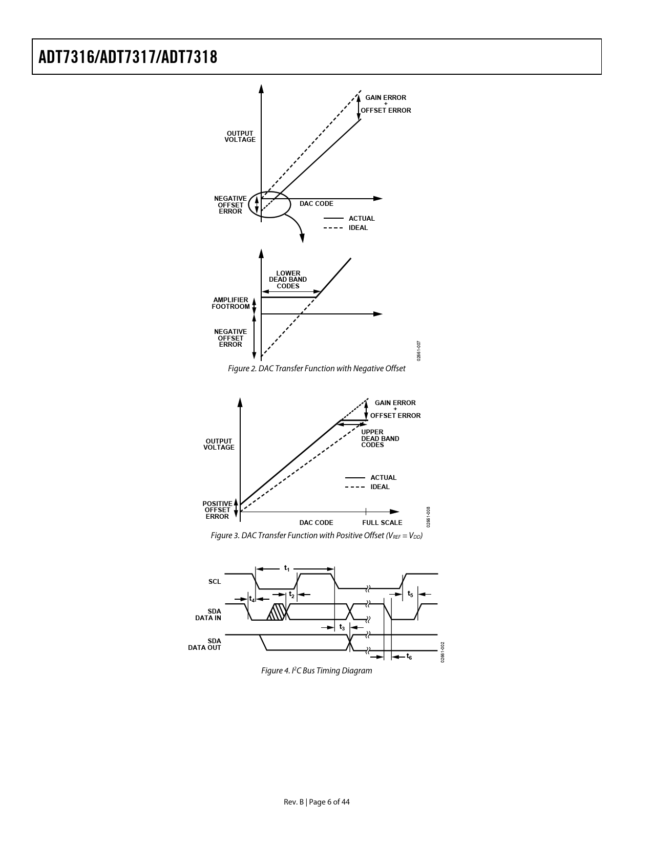
ADT7316/ADT7317/ADT7318. GAIN ERROR. OFFSET ERROR. OUTPUT. VOLTAGE. NEGATIVE. OFFSET. DAC CODE. ERROR. ACTUAL IDEAL. LOWER. DEAD BAND. CODES

ADT7316/ADT7317/ADT7318 GAIN ERROR OFFSET ERROR OUTPUT VOLTAGE NEGATIVE OFFSET DAC CODE ERROR ACTUAL IDEAL LOWER DEAD BAND CODES

Model Line for this Datasheet

Text Version of Document

ADT7316/ADT7317/ADT7318 GAIN ERROR + OFFSET ERROR OUTPUT VOLTAGE NEGATIVE OFFSET DAC CODE ERROR ACTUAL IDEAL LOWER DEAD BAND CODES AMPLIFIER FOOTROOM NEGATIVE OFFSET ERROR
7 1-00 66 02 Figure 2. DAC Transfer Function with Negative Offset
GAIN ERROR + OFFSET ERROR UPPER DEAD BAND OUTPUT CODES VOLTAGE ACTUAL IDEAL POSITIVE OFFSET
8 00
ERROR
1-
DAC CODE FULL SCALE
266 0 Figure 3. DAC Transfer Function with Positive Offset (VREF = VDD)
t1 SCL t t t 2 5 4 SDA DATA IN t3 SDA DATA OUT
02 -0
t6
661 02 Figure 4. I2C Bus Timing Diagram Rev. B | Page 6 of 44 Document Outline FEATURES APPLICATIONS PIN CONFIGURATION GENERAL DESCRIPTION TABLE OF CONTENTS REVISION HISTORY SPECIFICATIONS FUNCTIONAL BLOCK DIAGRAM DAC AC CHARACTERISTICS ABSOLUTE MAXIMUM RATINGS ESD CAUTION PIN CONFIGURATION AND FUNCTION DESCRIPTIONS TERMINOLOGY TYPICAL PERFORMANCE CHARACTERISTICS THEORY OF OPERATION POWER-UP CALIBRATION CONVERSION SPEED FUNCTIONAL DESCRIPTION—VOLTAGE OUTPUT DIGITAL-TO-ANALOG CONVERTERS DIGITAL-TO-ANALOG SECTION RESISTOR STRING DAC EXTERNAL REFERENCE INPUTS OUTPUT AMPLIFIER THERMAL VOLTAGE OUTPUT Negative Temperatures Positive Temperatures FUNCTIONAL DESCRIPTION—MEASUREMENT TEMPERATURE SENSOR VDD MONITORING ON-CHIP REFERENCE ROUND ROBIN MEASUREMENT SINGLE-CHANNEL MEASUREMENT TEMPERATURE MEASUREMENT METHOD Internal Temperature Measurement External Temperature Measurement TEMPERATURE VALUE FORMAT Temperature Conversion Formula INTERRUPTS REGISTERS REGISTER DESCRIPTIONS SERIAL INTERFACE SERIAL INTERFACE SELECTION I2C SERIAL INTERFACE Writing to the ADT7316/ADT7317/ADT7318 Writing to the Address Pointer Register for a Subsequent Read Writing Data to a Register Reading Data from the ADT7316/ADT7317/ADT7318 SPI SERIAL INTERFACE Write Operation Read Operation SMBUS/SPI INT/ SMBUS Alert Response LAYOUT CONSIDERATIONS OUTLINE DIMENSIONS ORDERING GUIDE