News
Articles
Biblio
Circuits
Datasheets
Sites
Devices
Prices
More
News
Articles
Biblio
Datasheets
Sites
Devices
e-Newsletter Subscription
Authors
Only-Datasheet.com
About us
For Authors
Cooperation
Advertising
Contacts
ru - Русский
de - Deutsch
es - Espanol
zh - 中文
Search
Datasheets
Datasheet STK984-090A-E (ON Semiconductor)
Datasheet STK984-090A-E (ON Semiconductor) - 3
Manufacturer
ON Semiconductor
Description
20A/40V Integrated Power Module in SIP23 package
Pages / Page
19
/
3
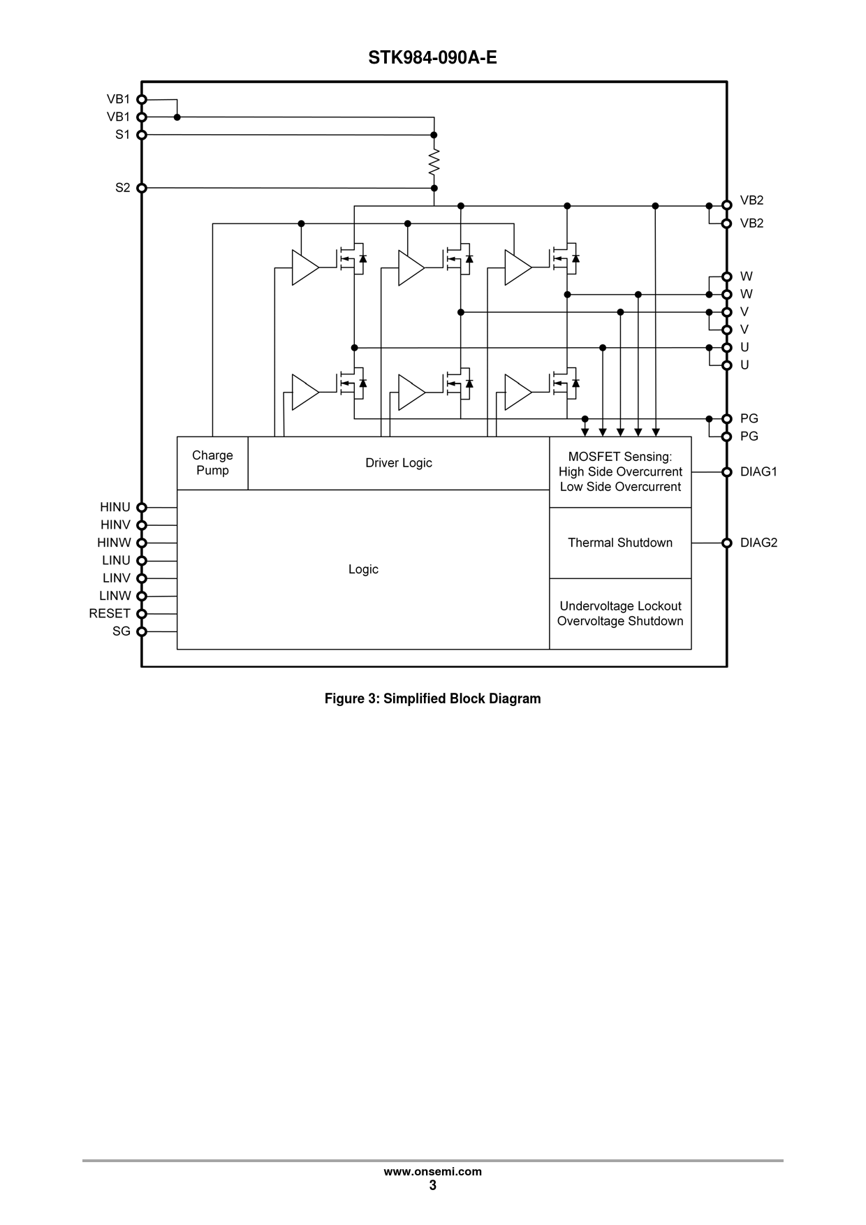
— STK984-090A-E Figure 3: Simplified Block Diagram www.onsemi.com 3
Revision
2
File Format / Size
PDF
/
687 Kb
Document Language
English
STK984-090A-E Figure 3: Simplified Block Diagram www.onsemi.com 3
1
2
3
4
5
...
10
Download PDF
1
2
3
4
5
...
10
Model Line for this Datasheet
STK984-090A-E
Text Version of Document
STK984-090A-E Figure 3: Simplified Block Diagram www.onsemi.com 3
Subscribe e-Newsletter to Stay Informed on New Materials of Our Website!
Slices
Microcontrollers
e-Newsletter Subscription
Contacts
Privacy Policy
Change Privacy Settings