Preliminary Datasheet MB85RS4MTY (Fujitsu) - 3

ManufacturerFujitsu
DescriptionMemory FRAM 4M (512 K х 8) Bit SPI
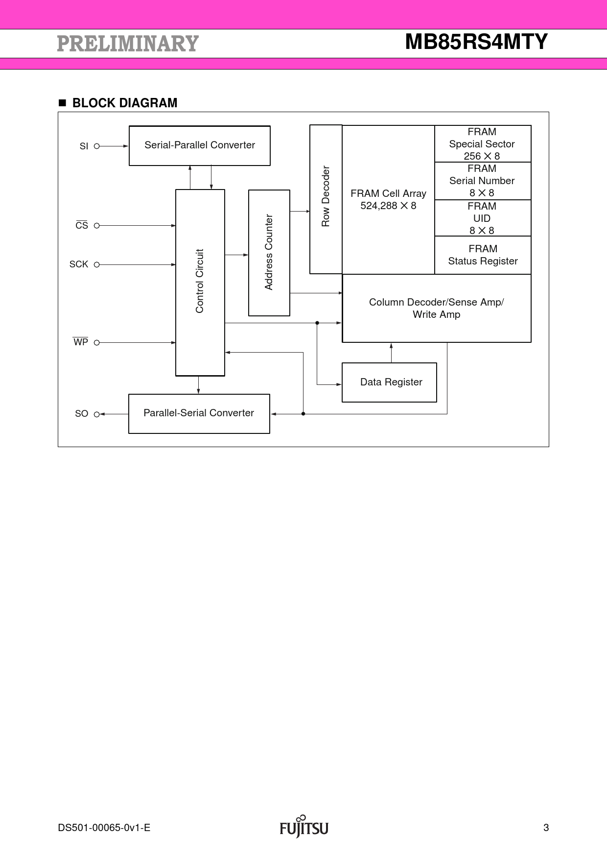
Pages / Page39 / 3 — MB85RS4MTY. BLOCK DIAGRAM
File Format / SizePDF / 2.6 Mb
Document LanguageEnglish

MB85RS4MTY. BLOCK DIAGRAM

MB85RS4MTY BLOCK DIAGRAM

Model Line for this Datasheet

Text Version of Document

MB85RS4MTY BLOCK DIAGRAM
FRAM SI Serial-Parallel Converter Special Sector 256 ✕ 8 FRAM Serial Number FRAM Cell Array 8 ✕ 8 524,288 ✕ 8 FRAM w Decoder UID CS Ro 8 ✕ 8 FRAM SCK Status Register Address Counter Column Decoder/Sense Amp/ Control Circuit Write Amp WP Data Register SO Parallel-Serial Converter DS501-00065-0v1-E 3 Document Outline DESCRIPTION FEATURES PIN ASSIGNMENT PIN FUNCTIONAL DESCRIPTIONS BLOCK DIAGRAM SPI MODE SERIAL PERIPHERAL INTERFACE (SPI) STATUS REGISTER OP-CODE COMMAND BLOCK PROTECT WRITING PROTECT ABSOLUTE MAXIMUM RATINGS RECOMMENDED OPERATING CONDITIONS ELECTRICAL CHARACTERISTICS 1. DC Characteristics 2. AC Characteristics 3. Pin Capacitance TIMING DIAGRAM POWER ON/OFF SEQUENCE FRAM CHARACTERISTICS NOTE ON USE ESD AND LATCH-UP REFLOW CONDITIONS AND FLOOR LIFE Current status on Contained Restricted Substances ORDERING INFORMATION PACKAGE DIMENSION MARKING (Example) PACKING INFORMATION 1. Tube 2. Emboss Tape