Datasheet LTC7852 (Analog Devices) - 9

ManufacturerAnalog Devices
DescriptionDual Output, 6-Phase, Multiphase Current Mode Synchronous Controller with Current Monitoring
Pages / Page32 / 9 — FUNCTIONAL BLOCK DIAGRAMS. LTC7852
RevisionA
File Format / SizePDF / 1.4 Mb
Document LanguageEnglish

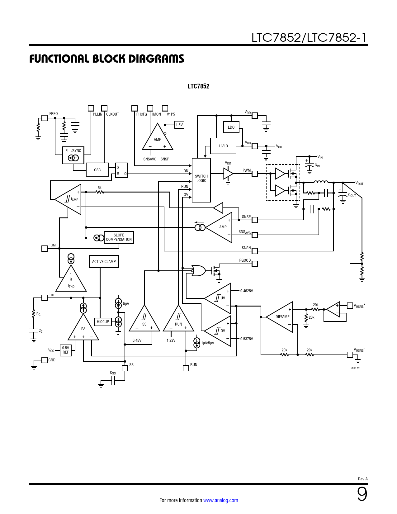
FUNCTIONAL BLOCK DIAGRAMS. LTC7852

FUNCTIONAL BLOCK DIAGRAMS LTC7852

Model Line for this Datasheet

Text Version of Document

LTC7852/LTC7852-1
FUNCTIONAL BLOCK DIAGRAMS LTC7852
FREQ PLLIN CLKOUT PHCFG IMON V1P5 VDD 1.5V LDO AMP V – + CC UVLO VCC PLL/SYNC V SNSAVG SNSP + IN VDD S CIN OSC ON PWM R Q SWITCH LOGIC VOUT 5k RUN + + OV COUT ICMP – + SNSP AMP SLOPE – SNSAVG COMPENSATION ILIM SNSN PGOOD ACTIVE CLAMP 1 R ITHD + 0.4625V ITH UV 5µA – 20k + V + + OSNS R – C DIFFAMP 20k HICCUP SS RUN + – EA – + – + CC OV + + – 0.45V 1.22V – 0.5375V 1µA/5µA 0.5V V – CC 20k V REF 20k OSNS GND SS RUN 78521 BD1 CSS Rev A For more information www.analog.com 9 Document Outline Features Applications Typical Application Description Absolute Maximum Ratings Order Information Electrical Characteristics Typical Performance Characteristics Pin Functions Functional Block Diagrams Operation Applications Information Typical Applications Package Description Revision History Typical Application Related Parts