Datasheet MYTNC1R84RELA2RA (Murata) - 9
| Manufacturer | Murata |
| Description | UltraBK 4A DC–DC Converter Module |
| Pages / Page | 39 / 9 — MYTNC1R84RELA2RA. Functional Block Diagram. Figure 4. Functional Block … |
| File Format / Size | PDF / 1.7 Mb |
| Document Language | English |
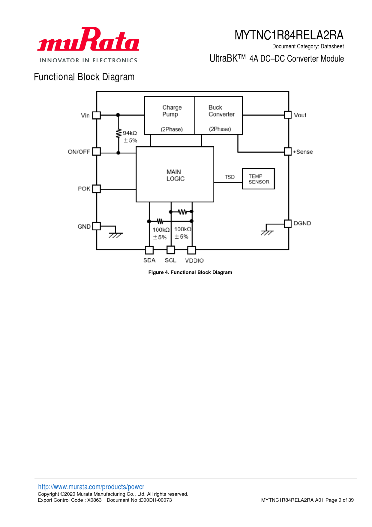
MYTNC1R84RELA2RA. Functional Block Diagram. Figure 4. Functional Block Diagram. http://www.murata.com/products/power

Model Line for this Datasheet
Text Version of Document
MYTNC1R84RELA2RA
Document Category: Datasheet UltraBK™ 4A DC–DC Converter Module
Functional Block Diagram Figure 4. Functional Block Diagram http://www.murata.com/products/power
Copyright ©2020 Murata Manufacturing Co., Ltd. All rights reserved. Export Control Code : X0863 Document No :D90DH-00073 MYTNC1R84RELA2RA A01 Page 9 of 39 Document Outline Product Description Features Typical Applications Efficiency Simplified Application Circuit Absolute Maximum Ratings(1)(2) Recommended Operating Conditions(1) Package Thermal Characteristics(1)(2) Electrical Characteristics Pin Configuration Pin Descriptions Functional Block Diagram Typical Performance Characteristics Thermal Deratings (Reference Data) Output Voltage Range Limitation of Input Voltage Slew rate Detailed Description Output Voltage Remote Sense Function Remote Enable Function Soft start Function Power Good Operation Telemetry System I2C Interface Bus Overview Standard-, Fast-, Fast-Mode Plus Protocol I2C Update Sequence Register Map Detailed Register Description Protections Over Current Protection and Short Circuit Protection Over Temperature Protection Soldering Guidelines Pb-free Solder Processes Dry Pack Information Application Performance Transient Performance Test Circuit Component Selection Input Fuse Input Capacitor Output Capacitor Packaging Information Moisture Sensitivity Level Package Drawing Recommended Board Land Pattern (Top View) Top Marking Specification Application Circuit Application Circuit Part List (Recommended) Application Board Example Tape and Reel Specification Order Codes Notices CAUTION Limitation of Applications Note Product Specification Sales contact Disclaimers Patent Statement Copyright and Trademark