Datasheet MC1489, MC1489A (ON Semiconductor) - 7

ManufacturerON Semiconductor
DescriptionQuad Line EIA-232D Receivers
Pages / Page15 / 7 — MC1489, MC1489A. Figure 12. Typical Translator Application − MOS to DTL …
Revision11
File Format / SizePDF / 335 Kb
Document LanguageEnglish

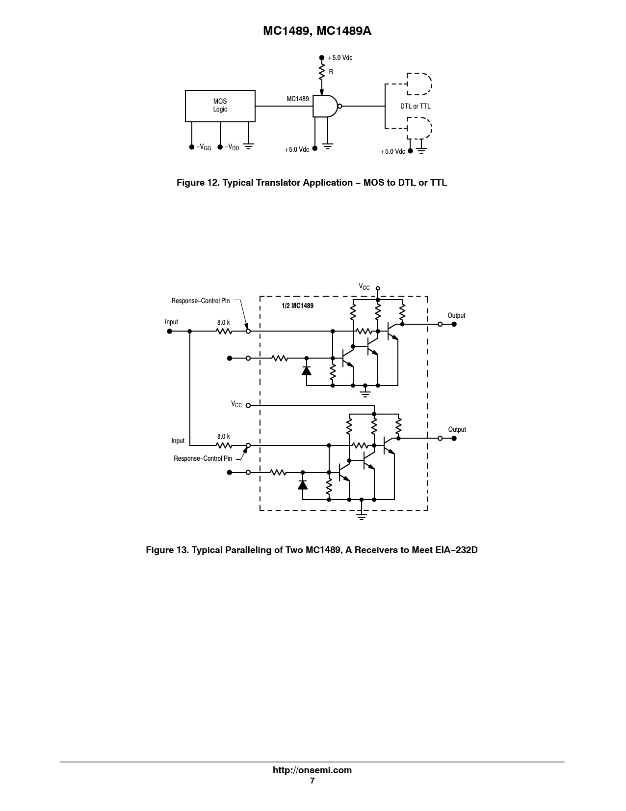
MC1489, MC1489A. Figure 12. Typical Translator Application − MOS to DTL or TTL. 1/2 MC1489

MC1489, MC1489A Figure 12 Typical Translator Application − MOS to DTL or TTL 1/2 MC1489

Model Line for this Datasheet

Text Version of Document

MC1489, MC1489A
+5.0 Vdc R MC1489 MOS DTL or TTL Logic -V -V GG DD +5.0 Vdc +5.0 Vdc
Figure 12. Typical Translator Application − MOS to DTL or TTL
VCC Response-Control Pin
1/2 MC1489
Output Input 8.0 k VCC Output 8.0 k Input Response-Control Pin
Figure 13. Typical Paralleling of Two MC1489, A Receivers to Meet EIA−232D http://onsemi.com 7