News
Articles
Biblio
Circuits
Datasheets
Sites
Devices
Prices
More
News
Articles
Biblio
Datasheets
Sites
Devices
e-Newsletter Subscription
Authors
Only-Datasheet.com
About us
For Authors
Cooperation
Advertising
Contacts
ru - Русский
de - Deutsch
es - Espanol
zh - 中文
Search
Datasheets
Datasheet AOZ1374DI (Alpha & …
Datasheet AOZ1374DI (Alpha & Omega) - 5
Manufacturer
Alpha & Omega
Description
ECPower 23 V 36 mΩ Protection Switch Programmable Current Limit and True Reverse Current Blocking
Pages / Page
18
/
5
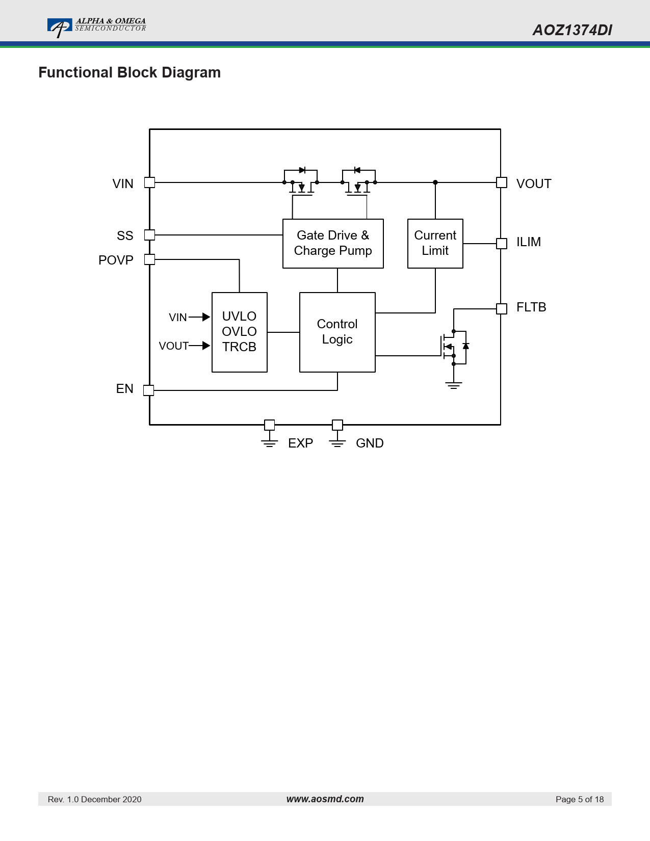
— ALPHA & OMEGA. AOZ1374DI. Functional Block Diagram. www.aosmd.com
File Format / Size
PDF
/
1.7 Mb
Document Language
English
ALPHA & OMEGA. AOZ1374DI. Functional Block Diagram. www.aosmd.com
1
...
4
5
6
...
10
Download PDF
1
...
4
5
6
...
10
Model Line for this Datasheet
AOZ1374DI
AOZ1374DI- 01
AOZ1374DI- 02
Text Version of Document
ALPHA & OMEGA
S E M I C O N D U C T O R
AOZ1374DI
Functional Block Diagram
VIN VOUT SS Gate Drive & Current Charge Pump ILIM Limit POVP FLTB VIN UVLO Control OVLO Logic VOUT TRCB EN EXP GND Rev. 1.0 December 2020
www.aosmd.com
Page 5 of 18
Subscribe e-Newsletter to Stay Informed on New Materials of Our Website!
Slices
Microcontrollers
e-Newsletter Subscription
Contacts
Privacy Policy
Change Privacy Settings