Datasheet MP6925A (Monolithic Power Systems) - 7
| Manufacturer | Monolithic Power Systems |
| Description | Fast Turn-Off, CCM/DCM Compatible, Dual-LLC, Synchronous Rectifier with lmproved Noise Immunity |
| Pages / Page | 15 / 7 — MP6925A – FAST TURN-OFF, CCM/DCM DUAL LLC SYNCHRONOUS RECTIFIER. … |
| File Format / Size | PDF / 1.3 Mb |
| Document Language | English |
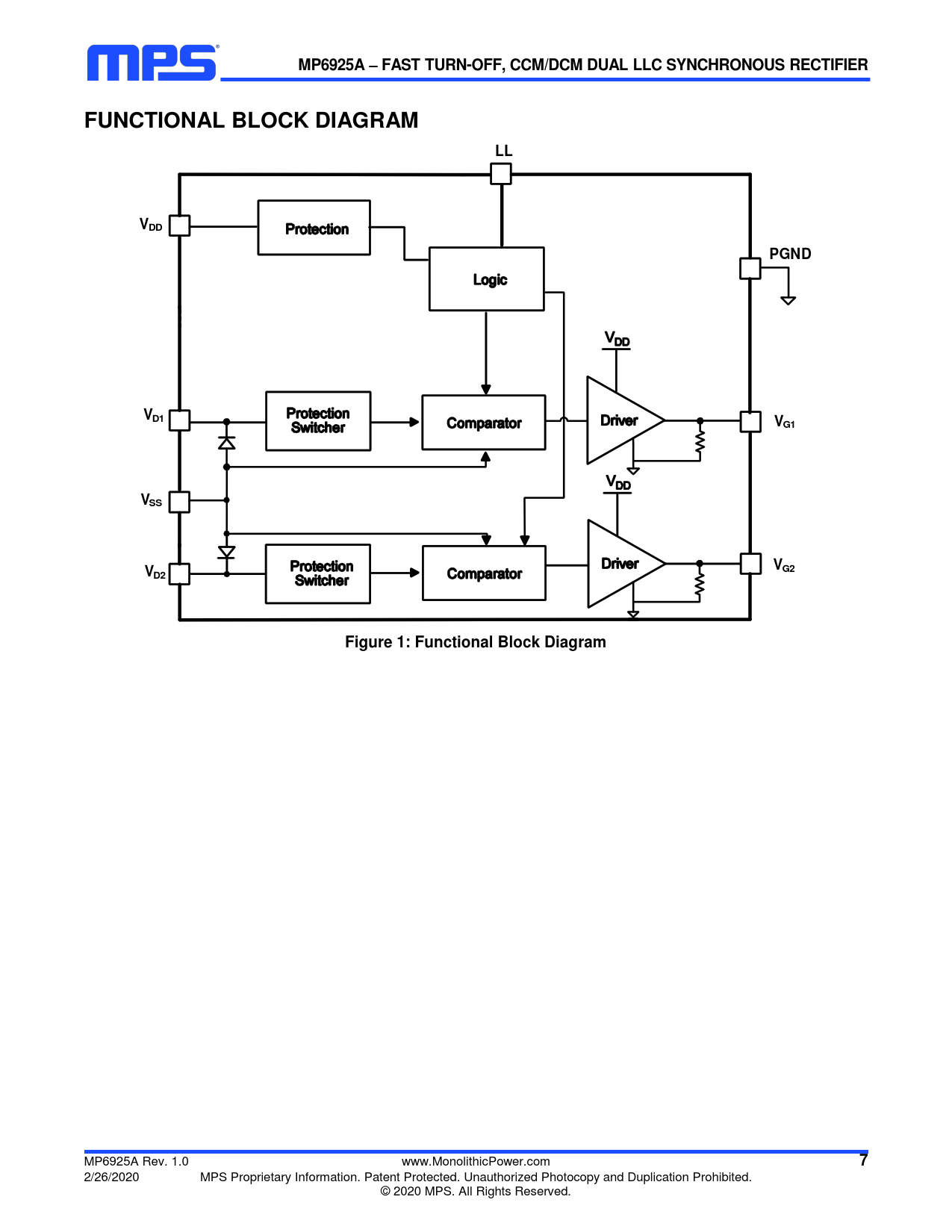
MP6925A – FAST TURN-OFF, CCM/DCM DUAL LLC SYNCHRONOUS RECTIFIER. FUNCTIONAL BLOCK DIAGRAM. VDD. PGND. VD1. VG1. VSS. VG2

Model Line for this Datasheet
Text Version of Document
MP6925A – FAST TURN-OFF, CCM/DCM DUAL LLC SYNCHRONOUS RECTIFIER FUNCTIONAL BLOCK DIAGRAM LL VDD PGND VD1 VG1 VSS V VG2 D2 Figure 1: Functional Block Diagram
MP6925A Rev. 1.0 www.MonolithicPower.com
7
2/26/2020 MPS Proprietary Information. Patent Protected. Unauthorized Photocopy and Duplication Prohibited. © 2020 MPS. All Rights Reserved.