Datasheet TLX9188 (Toshiba) - 4
| Manufacturer | Toshiba | 
| Description | TOSHIBA Photocoupler IRLED & Photo-Transistor | 
| Pages / Page | 8 / 4 — Switching Characteristics (Ta = 25°C) | 
| File Format / Size | PDF / 613 Kb | 
| Document Language | English | 
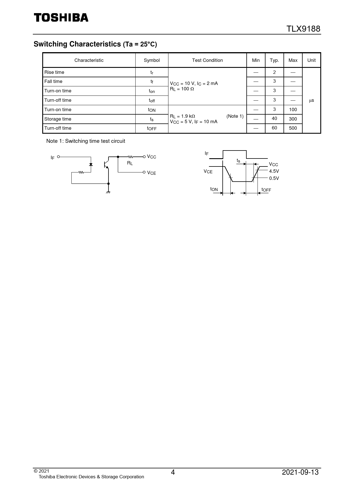
Switching Characteristics (Ta = 25°C)

Model Line for this Datasheet
Text Version of Document
TLX9188
Switching Characteristics (Ta = 25°C)
Characteristic Symbol Test Condition Min Typ. Max Unit Rise time tr — 2 — Fall time tf — V 3 — CC = 10 V, IC = 2 mA RL = 100 Ω Turn-on time ton — 3 — Turn-off time toff — 3 — μs Turn-on time tON — 3 100 RL = 1.9 kΩ (Note 1) Storage time ts — 40 300 VCC = 5 V, IF = 10 mA Turn-off time tOFF — 60 500 Note 1: Switching time test circuit IF I V F CC ts RL VCC VCE 4.5V VCE 0.5V tON tOFF © 2 021 4 2021-09-13 Toshiba Electronic Devices & Storage Corporation