Datasheet ADG772 (Analog Devices) - 10

ManufacturerAnalog Devices
DescriptionCMOS Low Power Dual 2:1 Mux/Demux USB 2.0 (480 Mbps)/USB 1.1 (12 Mbps)
Pages / Page12 / 10 — ADG772. Data Sheet. VDD. 0.1µF. NETWORK. ANALYZER. 50Ω. S1B. S1A. VOUT. …
RevisionC
File Format / SizePDF / 387 Kb
Document LanguageEnglish

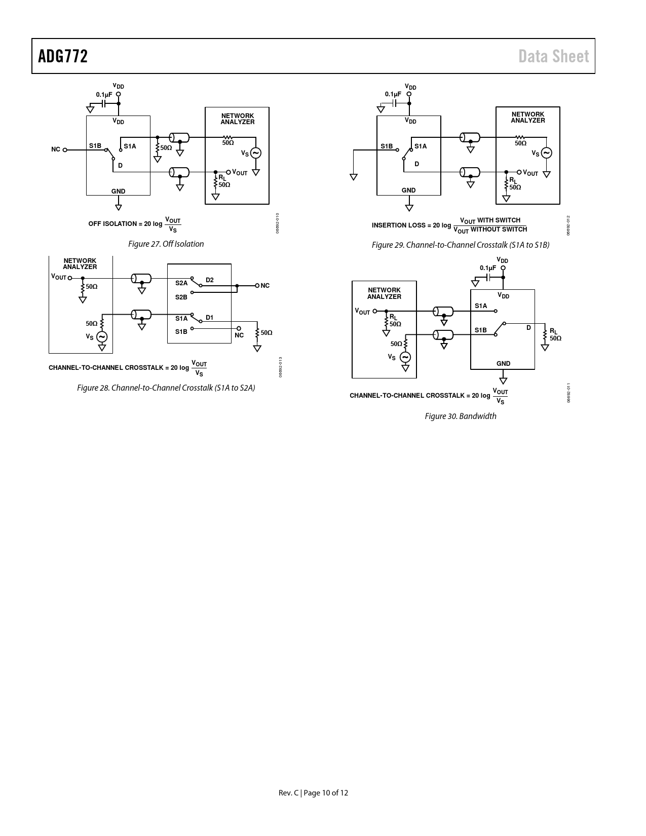
ADG772. Data Sheet. VDD. 0.1µF. NETWORK. ANALYZER. 50Ω. S1B. S1A. VOUT. GND. OFF ISOLATION = 20 log. OUT WITH SWITCH. INSERTION LOSS = 20 log

ADG772 Data Sheet VDD 0.1µF NETWORK ANALYZER 50Ω S1B S1A VOUT GND OFF ISOLATION = 20 log OUT WITH SWITCH INSERTION LOSS = 20 log

Model Line for this Datasheet

Text Version of Document

ADG772 Data Sheet VDD VDD 0.1µF 0.1µF NETWORK NETWORK VDD ANALYZER VDD ANALYZER 50Ω 50Ω S1B S1A S1B S1A NC 50Ω VS VS D D VOUT VOUT RL 50Ω RL 50Ω GND GND VOUT
010
V
012
OFF ISOLATION = 20 log OUT WITH SWITCH INSERTION LOSS = 20 log VS V
06692-
OUT WITHOUT SWITCH
06692- Figure 27. Off Isolation Figure 29. Channel-to-Channel Crosstalk (S1A to S1B)
NETWORK VDD ANALYZER 0.1µF VOUT D2 50Ω S2A NC NETWORK S2B V ANALYZER DD S1A VOUT D1 S1A RL 50Ω 50Ω D S1B 50Ω S1B RL V NC S 50Ω 50Ω VS VOUT
013
GND CHANNEL-TO-CHANNEL CROSSTALK = 20 log VS
06692- Figure 28. Channel-to-Channel Crosstalk (S1A to S2A) 011
VOUT CHANNEL-TO-CHANNEL CROSSTALK = 20 log V
06692-
S
Figure 30. Bandwidth Rev. C | Page 10 of 12 Document Outline FEATURES APPLICATIONS FUNCTIONAL BLOCK DIAGRAM GENERAL DESCRIPTION PRODUCT HIGHLIGHTS REVISION HISTORY ABSOLUTE MAXIMUM RATINGS ESD CAUTION PIN CONFIGURATION AND FUNCTION DESCRIPTIONS TRUTH TABLE TYPICAL PERFORMANCE CHARACTERISTICS TEST CIRCUITS TERMINOLOGY OUTLINE DIMENSIONS ORDERING GUIDE