Datasheet LM337 (ON Semiconductor) - 4

ManufacturerON Semiconductor
DescriptionVoltage Regulator - Adjustable Output, Negative
Pages / Page11 / 4 — LM337. Figure 2. Load Regulation and. IAdj/Load Test Circuit. Figure 3. …
File Format / SizePDF / 266 Kb
Document LanguageEnglish

LM337. Figure 2. Load Regulation and. IAdj/Load Test Circuit. Figure 3. Standard Test Circuit

LM337 Figure 2 Load Regulation and IAdj/Load Test Circuit Figure 3 Standard Test Circuit

Model Line for this Datasheet

Text Version of Document

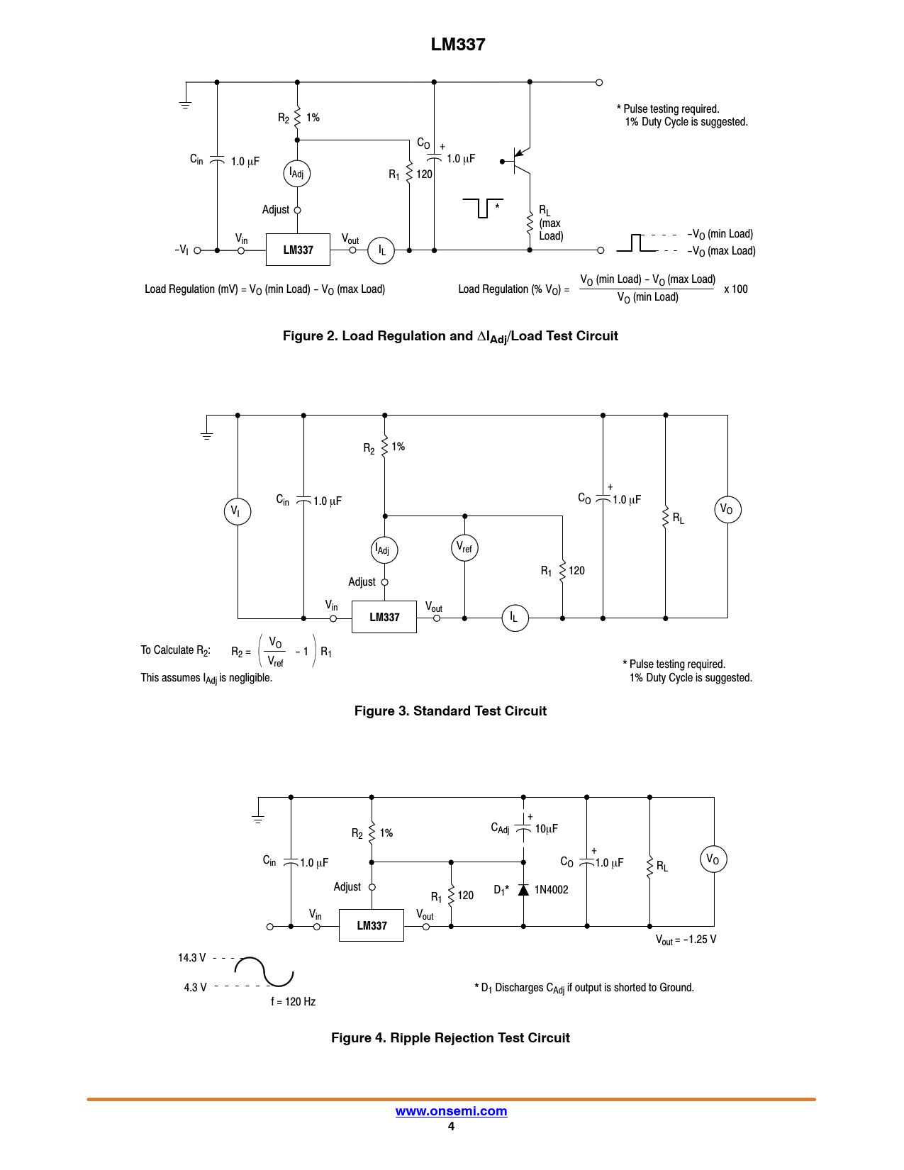
LM337
*Pulse testing required. R2 1% 1% Duty Cycle is suggested. CO + Cin 1.0 mF 1.0 mF IAdj R1 120 Adjust * RL (max V V Load) -V in out O (min Load) -VI
LM337
IL -VO (max Load) VO (min Load) - VO (max Load) Load Regulation (mV) = VO (min Load) - VO (max Load) Load Regulation (% VO) = x 100 VO (min Load)
Figure 2. Load Regulation and
D
IAdj/Load Test Circuit
R 1% 2 + C C in 1.0 mF O 1.0 mF V V I O RL I V Adj ref R1 120 Adjust Vin Vout
LM337
IL VO To Calculate R2: R2 = - 1 R1 Vref * Pulse testing required. This assumes IAdj is negligible. * 1% Duty Cycle is suggested.
Figure 3. Standard Test Circuit
+ C R 1% Adj 10mF 2 + C V in 1.0 C mF O 1.0 mF R O L Adjust D 1N4002 1* R 120 1 Vin Vout
LM337
Vout = -1.25 V 14.3 V 4.3 V * D1 Discharges CAdj if output is shorted to Ground. f = 120 Hz
Figure 4. Ripple Rejection Test Circuit www.onsemi.com 4