Datasheet UDA1330ATS (NXP) - 4
| Manufacturer | NXP |
| Description | Low-cost stereo filter DAC |
| Pages / Page | 23 / 4 — BLOCK DIAGRAM. UDA1330ATS. PINNING. SYMBOL. PIN. DESCRIPTION |
| File Format / Size | PDF / 169 Kb |
| Document Language | English |
BLOCK DIAGRAM. UDA1330ATS. PINNING. SYMBOL. PIN. DESCRIPTION

Model Line for this Datasheet
Text Version of Document
NXP Semiconductors Product specification Low-cost stereo filter DAC UDA1330ATS
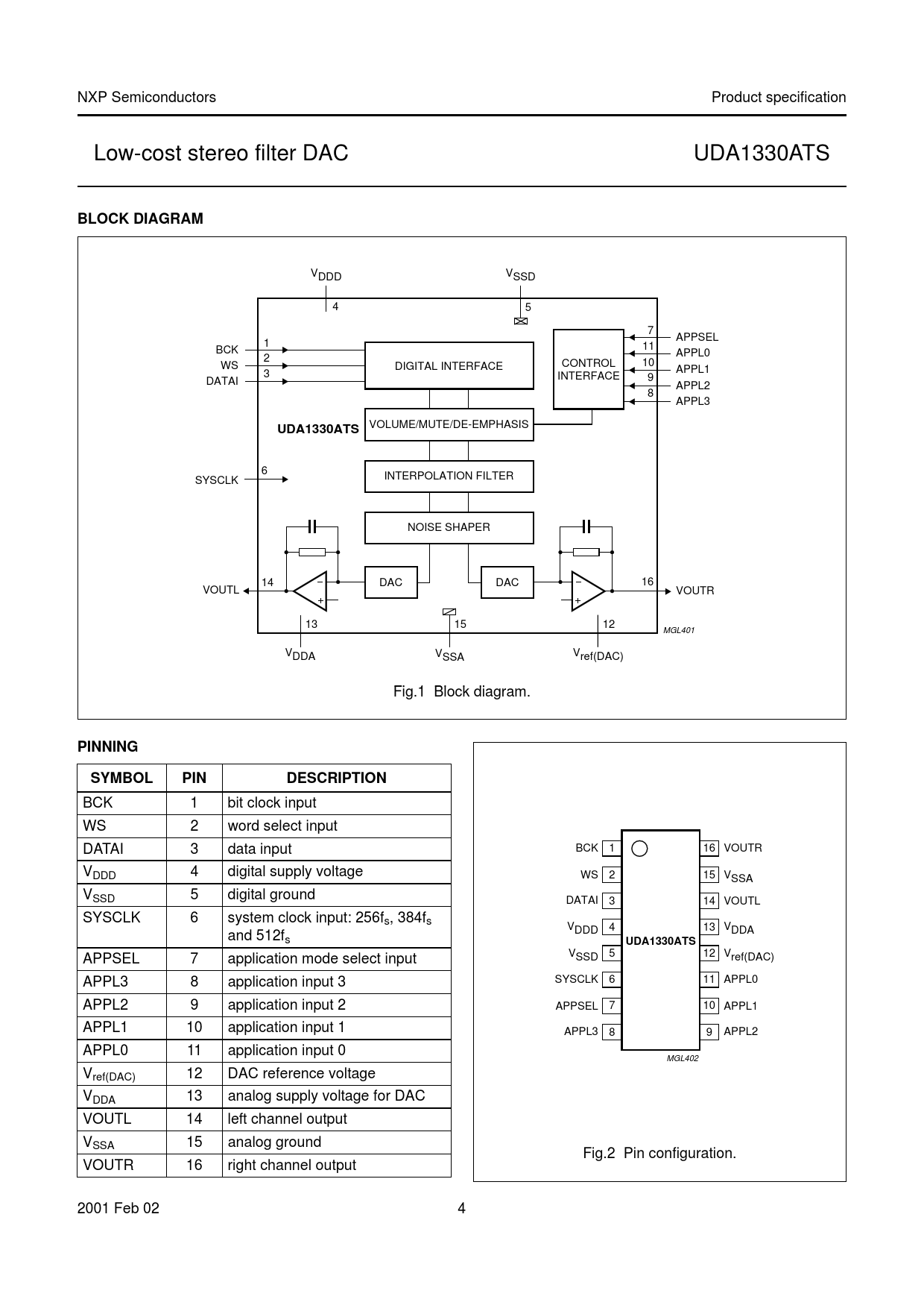
BLOCK DIAGRAM
handbook, full pagewidth VDDD VSSD 4 5 7 APPSEL 1 11 BCK APPL0 2 CONTROL WS DIGITAL INTERFACE 10 3 APPL1 INTERFACE 9 DATAI APPL2 8 APPL3
UDA1330ATS
VOLUME/MUTE/DE-EMPHASIS 6 INTERPOLATION FILTER SYSCLK NOISE SHAPER 14 DAC DAC 16 VOUTL VOUTR 13 15 12 MGL401 V V DDA SSA Vref(DAC) Fig.1 Block diagr g am. a
PINNING SYMBOL PIN DESCRIPTION
BCK 1 bit clock input WS 2 word select input handbook, halfpage DATAI 3 data input BCK 1 16 VOUTR VDDD 4 digital supply voltage WS 2 15 VSSA VSSD 5 digital ground DATAI 3 14 VOUTL SYSCLK 6 system clock input: 256fs, 384fs V 4 13 V and 512f DDD DDA s
UDA1330ATS
APPSEL 7 application mode select input V 5 12 V SSD ref(DAC) APPL3 8 application input 3 SYSCLK 6 11 APPL0 APPL2 9 application input 2 APPSEL 7 10 APPL1 APPL1 10 application input 1 APPL3 8 9 APPL2 APPL0 11 application input 0 MGL402 Vref(DAC) 12 DAC reference voltage VDDA 13 analog supply voltage for DAC VOUTL 14 left channel output VSSA 15 analog ground Fig.2 Pin configuration. VOUTR 16 right channel output 2001 Feb 02 4 Document Outline Features General Multiple format input interface DAC digital sound processing Advanced audio configuration Applications General description Ordering information Quick reference data Block diagram Pinning Functional description System clock Application modes Multiple format input interface Interpolation filter (DAC) Noise shaper Filter stream DAC Pin compatibility L3 interface Address mode Data transfer mode Registers Programming the features Limiting values Handling Thermal characteristics Quality specification DC characteristics AC characteristics Timing Application information Package outline Soldering Introduction to soldering surface mount packages Reflow soldering Wave soldering Manual soldering Suitability of surface mount IC packages for wave and reflow soldering methods Data sheet status Disclaimers