Datasheet MC145026, MC145027, MC145028 (NXP) - 3
| Manufacturer | NXP |
| Description | Encoder and Decoder Pairs CMOS |
| Pages / Page | 20 / 3 — Introduction. Figure 2. MC145026 Encoder Block Diagram. Figure 3. … |
| File Format / Size | PDF / 810 Kb |
| Document Language | English |
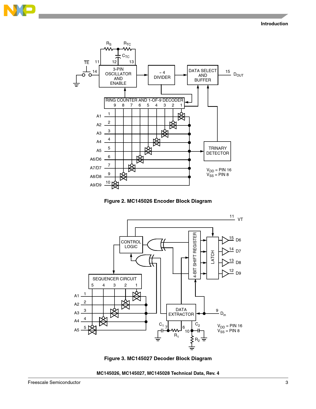
Introduction. Figure 2. MC145026 Encoder Block Diagram. Figure 3. MC145027 Decoder Block Diagram

Model Line for this Datasheet
Text Version of Document
Introduction
RS RTC CTC TE 11 12 13 3-PIN 14 ÷ 15 OSCILLATOR 4 DATA SELECT AND DOUT AND DIVIDER BUFFER ENABLE RING COUNTER AND 1-OF-9 DECODER 9 8 7 6 5 4 3 2 1 1 A1 2 A2 3 A3 4 A4 5 TRINARY A5 DETECTOR 6 A6/D6 7 A7/D7 VDD = PIN 16 9 VSS = PIN 8 A8/D8 10 A9/D9
Figure 2. MC145026 Encoder Block Diagram
11 VT 15 CONTROL D6 LOGIC 14 H D7 13 LATC D8 12 D9 4-BIT SHIFT REGISTER SEQUENCER CIRCUIT 5 4 3 2 1 1 A1 2 A2 DATA 3 9 A3 EXTRACTOR Din 4 A4 C 5 1 C2 V 7 6 DD = PIN 16 A5 10 VSS = PIN 8 R1 R2
Figure 3. MC145027 Decoder Block Diagram MC145026, MC145027, MC145028 Technical Data, Rev. 4
Freescale Semiconductor 3 Document Outline 1 Introduction 2 Electrical Specifications 3 Operating Characteristics 3.1 MC145026 3.2 MC145027 3.3 MC145028 4 Pin Descriptions 4.1 MC145026 Encoder 4.2 MC145027 and MC145028 Decoders 5 MC145027 and MC145028 Timing 6 Package Dimensions