Datasheet TB67S559FTG (Toshiba) - 3
| Manufacturer | Toshiba |
| Description | BICD Constant-Current 2-Phase Bipolar Stepping Motor Driver IC |
| Pages / Page | 42 / 3 — 4. Block diagram. DMODE0. DMODE1. OSCM. Step. Motor. Resolution. … |
| File Format / Size | PDF / 1.1 Mb |
| Document Language | English |
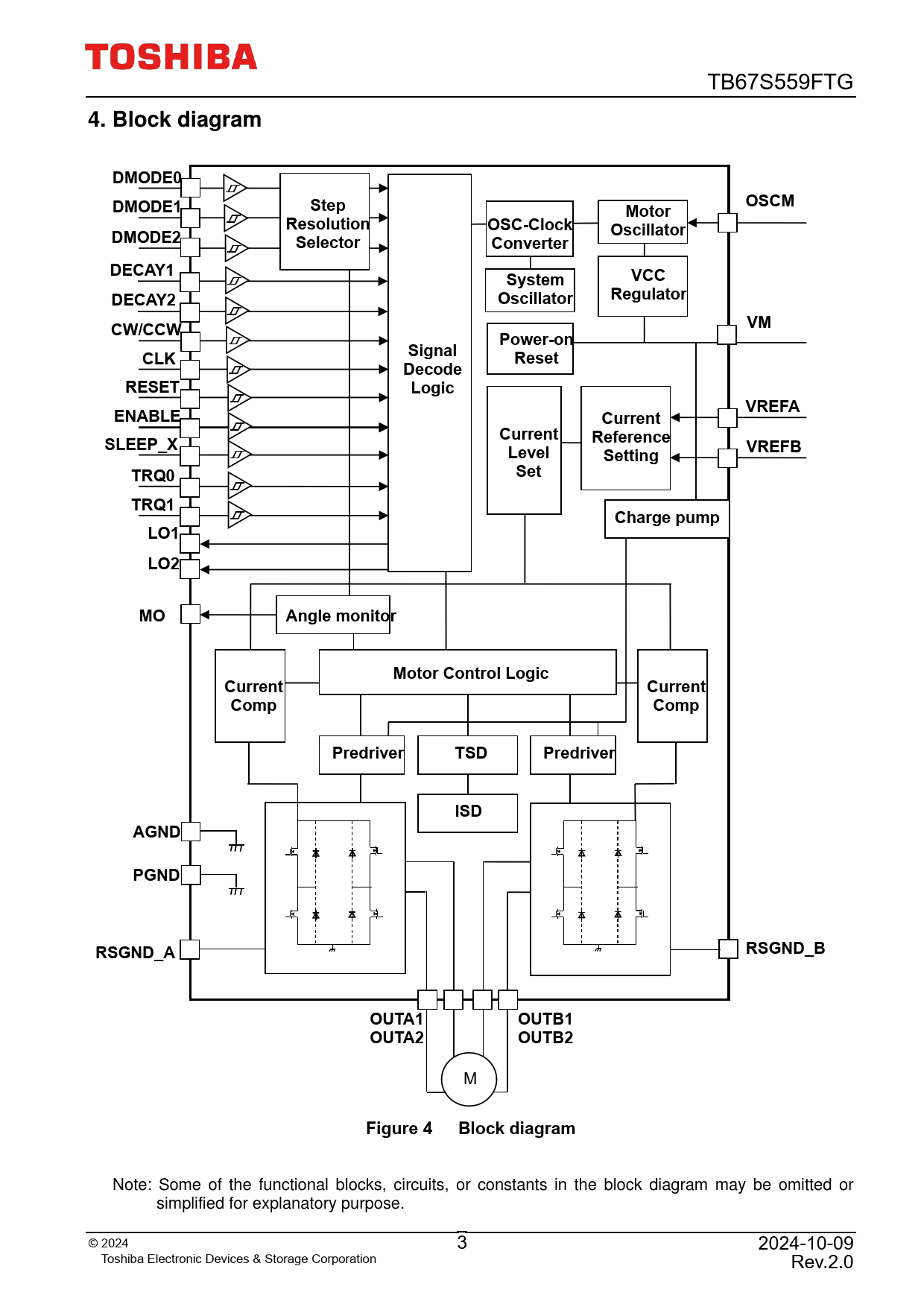
4. Block diagram. DMODE0. DMODE1. OSCM. Step. Motor. Resolution. OSC-Clock. Oscillator. DMODE2. Selector. Converter. DECAY1. VCC. System. Regulator

Model Line for this Datasheet
Text Version of Document
TB67S559FTG
4. Block diagram DMODE0 DMODE1 OSCM Step Motor Resolution OSC-Clock Oscillator DMODE2 Selector Converter DECAY1 VCC System Regulator DECAY2 Oscillator CW/CCW VM Power-on CLK Signal Reset Decode RESET Logic VREFA ENABLE Current Current Reference SLEEP_X VREFB Level Setting Set TRQ0 TRQ1 Charge pump LO1 LO2 MO Angle monitor Motor Control Logic Current Current Comp Comp Predriver TSD Predriver ISD AGND PGND RSGND_A RSGND_B OUTA1 OUTB1 OUTA2 OUTB2
M
Figure 4 Block diagram
Note: Some of the functional blocks, circuits, or constants in the block diagram may be omitted or simplified for explanatory purpose. © 2 024 3 2024-10-09 Toshiba Electronic Devices & Storage Corporation Rev.2.0 Document Outline BiCD constant-current 2-phase bipolar stepping motor driver IC 1. Description 2. Features 3. Pin assignment 4. Block diagram 5. Pin Description 6. Input / Output Equivalent Circuit 7. Functional Description 7.1. Function of SLEEP_X 7.2. Function of CLK 7.3. Function of ENABLE 7.4. Function of CW/CCW 7.5. Function of DMODE0, DMODE1,DMODE2 7.6. Sequence by drive mode in clock input control mode 7.7. Excitation method and set current value 7.8. Selectable Mixed Decay Function 7.9. Mixed Decay current waveform 1 7.10. For each time of constant-current PWM operation 7.11. Mixed Decay current waveform 2 7.12. ADMD (Advanced Dynamic Mixed Decay) Constant current control 7.13. ADMD (Advanced Dynamic Mixed Decay) current waveform 1 7.14. ADMD (Advanced Dynamic Mixed Decay) current waveform 2 7.15. Function of RESET 7.16. Torque Function 7.17. Function of MO 7.18. LO (error detection flag output) Function 8. Output stage transistor operation mode (Advanced Dynamic Mixed Decay) 8.1. Functions of output stage transistor operation 9. About the set current value (IOUT) 10. About chopping frequency (fCHOP) 11. Power Consumption of IC 11.1. Power consumption of power transistor section 11.2. Power consumption of logic and IM systems 11.3. Power consumption 12. About the detection function 13. Overheat detection (This function is a latch type that maintains operation at the time of detection.) 14. Overcurrent detection (This function is a latch type that maintains operation at the time of detection.) 15. Absolute Maximum Ratings (Ta = 25 C) 16. PD-Ta graph (for reference) 17. Operating range (Ta = -40 to 85 C) 18. Electrical Specifications 18.1. Electrical Specifications 1(Ta = 25 C, VM = 24 V unless otherwise specified) 18.2. Electrical Specifications 2 (Ta = 25 C, VM = 24 V unless otherwise specified) 18.2.1. With respect to back EMF 18.2.2. Overcurrent and overheat detection 18.2.3. Handling of ICs 19. AC electrical characteristics (Ta = 25 C, VM = 24V) 20. AC Characteristics Timing Chart 21. Application Circuit Example 22. Package Information 23. Notes on Contents 24. IC Usage Considerations 24.1. Notes on Handling of ICs 24.2. Points to Remember on Handling of ICs RESTRICTIONS ON PRODUCT USE