Datasheet TL431 (Unisonic Technologies) - 3
| Manufacturer | Unisonic Technologies | 
| Description | Programmable Precision Reference | 
| Pages / Page | 7 / 3 — TL431. LINEAR INTEGRATED CIRCUIT. www.unisonic.com.tw | 
| File Format / Size | PDF / 267 Kb | 
| Document Language | English | 
TL431. LINEAR INTEGRATED CIRCUIT. www.unisonic.com.tw

Text Version of Document
TL431 LINEAR INTEGRATED CIRCUIT
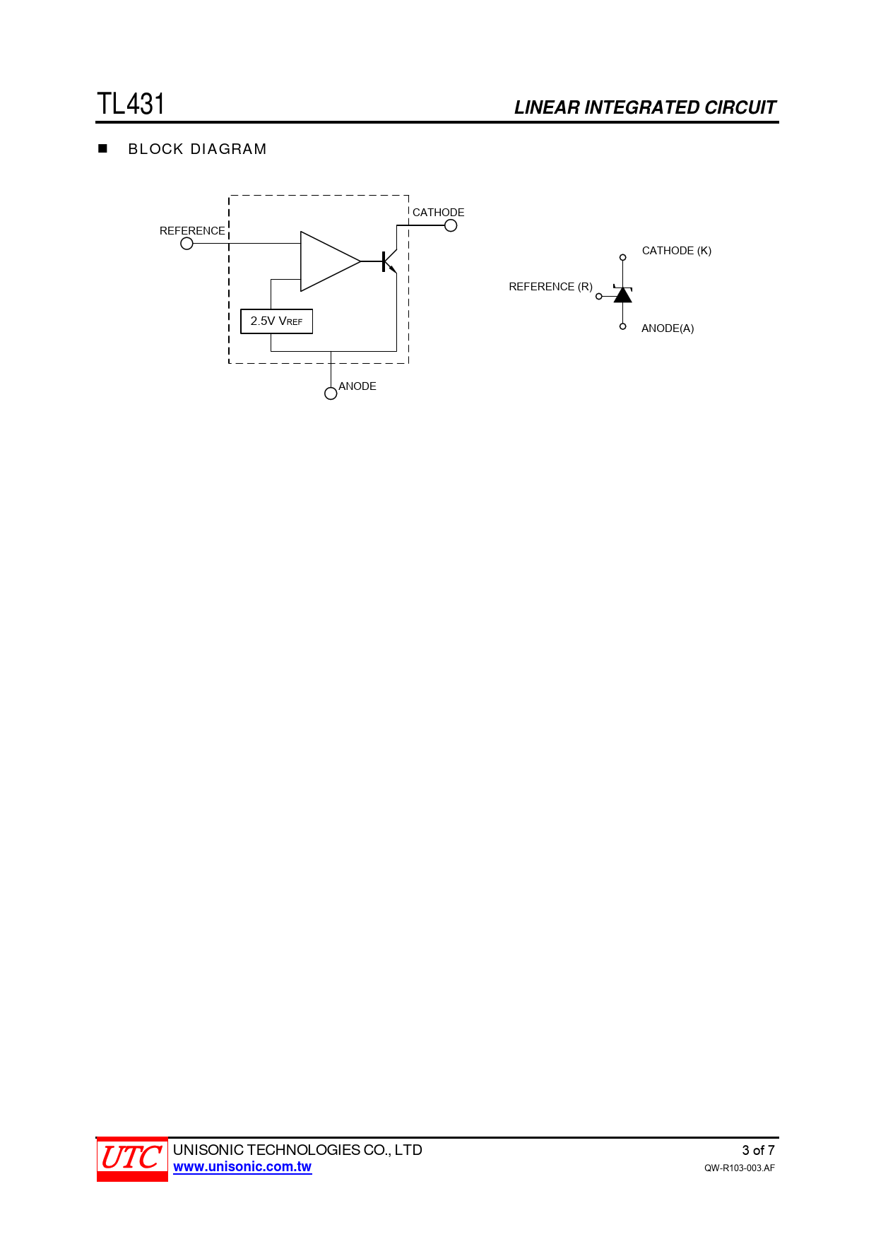
 BLOCK DIAGRAM CATHODE REFERENCE CATHODE (K) REFERENCE (R) 2.5V VREF ANODE(A) ANODE UNISONIC TECHNOLOGIES CO., LTD 3 of 7
www.unisonic.com.tw
QW-R103-003.AF