Datasheet LMC7101 (Microchip) - 10

ManufacturerMicrochip
DescriptionLMC7101 is a 500kHz gain bandwidth amplifier designed to operate from 2.7V to 12V single-ended power supplies with guaranteed performance at supply voltages of 2.7V, 3V, 5V, and 12V
Pages / Page12 / 10 — Typical Circuits. LMC7101. Figure 3a. Noninverting Amplifier. Figure 5. …
File Format / SizePDF / 132 Kb
Document LanguageEnglish

Typical Circuits. LMC7101. Figure 3a. Noninverting Amplifier. Figure 5. Voltage-Controlled Current Sink

Typical Circuits LMC7101 Figure 3a Noninverting Amplifier Figure 5 Voltage-Controlled Current Sink

Model Line for this Datasheet

Text Version of Document

LMC7101 Micrel, Inc.
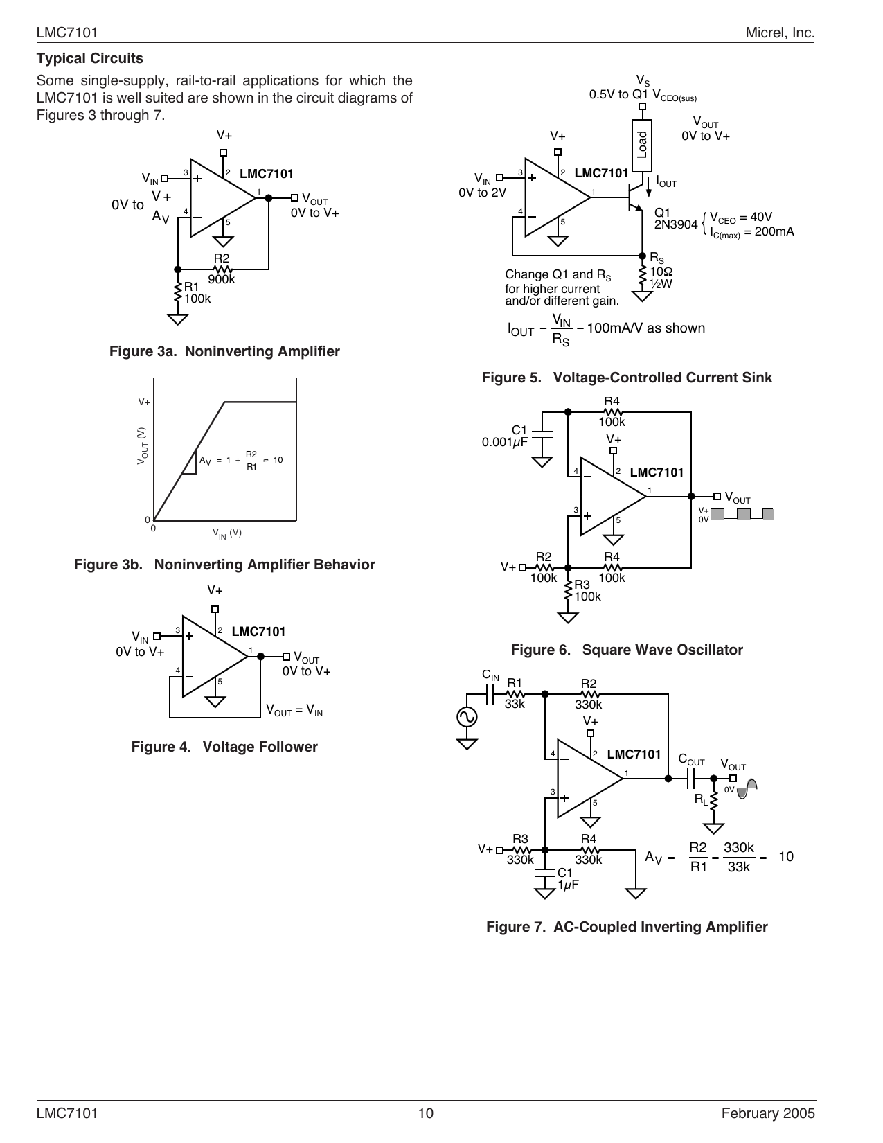
Typical Circuits
Some single-supply, rail-to-rail applications for which the VS LMC7101 is well suited are shown in the circuit diagrams of 0.5V to Q1 VCEO(sus) Figures 3 through 7. VOUT V+ V+ 0V to V+ Load 3 2 V 3 2
LMC7101 LMC7101
IN VIN IOUT 1 V + 1 V 0V to 2V OUT 0V to 4 0V to V+ A 4 Q1 V V 5 5 2N3904 CEO = 40V { IC(max) = 200mA R2 RS 10 Change Q1 and R Ω 900k S R1 1⁄2W for higher current 100k and/or different gain. V I IN = = 100mA/V as shown OUT RS
Figure 3a. Noninverting Amplifier Figure 5. Voltage-Controlled Current Sink
100 V+ R4 100k C1 (V) V+ 0.001µF OUT R2 V A = 1 + ≈ 10 V R1 4 2
LMC7101
1 VOUT 3 V+ 0 5 0V 0 100 V (V) IN R2 R4
Figure 3b. Noninverting Amplifier Behavior
V+ 100k 100k V+ R3 100k 3 2 V
LMC7101
IN 0V to V+ 1 V
Figure 6. Square Wave Oscillator
OUT 4 0V to V+ C 5 IN R1 R2 V 33k 330k OUT = VIN V+
Figure 4. Voltage Follower
4 2
LMC7101
COUT VOUT 1 0V 3 5 RL R3 R4 V+ R2 330k 330k 330k A 10 V = − = = − R1 33k C1 1µF
Figure 7. AC-Coupled Inverting Amplifier
LMC7101 10 February 2005