Datasheet TLP2108 (Toshiba) - 7
| Manufacturer | Toshiba |
| Description | Photocouplers GaAℓAs Infrared LED & Photo IC |
| Pages / Page | 18 / 7 — TLP2108. Fig. 12.1.8. Switching. Time. Test. Circuit. and. Waveform. Fig. … |
| File Format / Size | PDF / 513 Kb |
| Document Language | English |
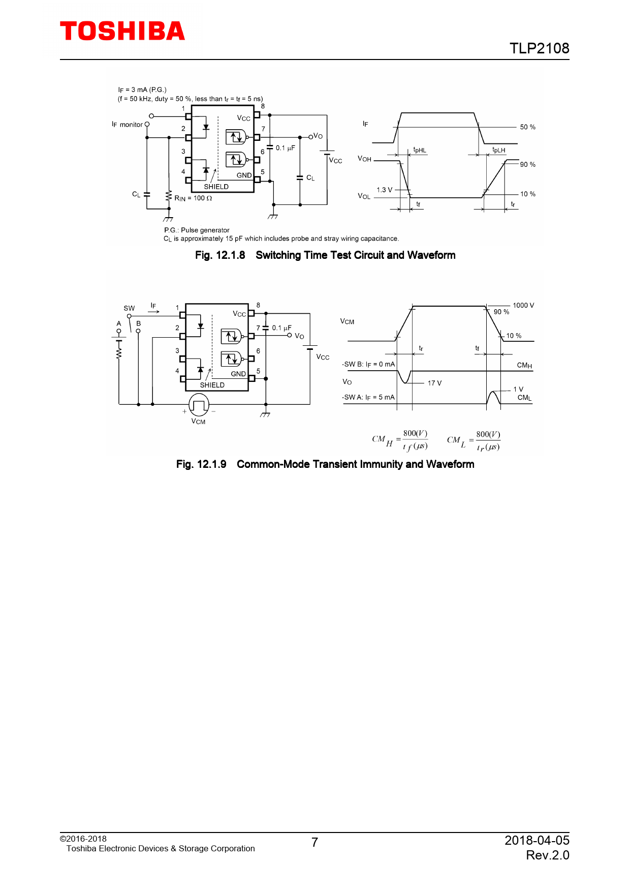
TLP2108. Fig. 12.1.8. Switching. Time. Test. Circuit. and. Waveform. Fig. 12.1.9. Common-Mode. Transient. Immunity. and. Waveform. ©2016-2018. 7

Model Line for this Datasheet
Text Version of Document
TLP2108 Fig. 12.1.8 Switching Time Test Circuit and Waveform Fig. 12.1.9 Common-Mode Transient Immunity and Waveform ©2016-2018 7 2018-04-05 Toshiba Electronic Devices & Storage Corporation Rev.2.0