Datasheet TLP170AM (Toshiba) - 2
| Manufacturer | Toshiba |
| Description | Photocouplers Photorelay |
| Pages / Page | 11 / 2 — TLP170AM. 4. Packaging. and. Pin. Assignment. 1:. Anode. 3:. Cathode. 4:. … |
| File Format / Size | PDF / 307 Kb |
| Document Language | English |
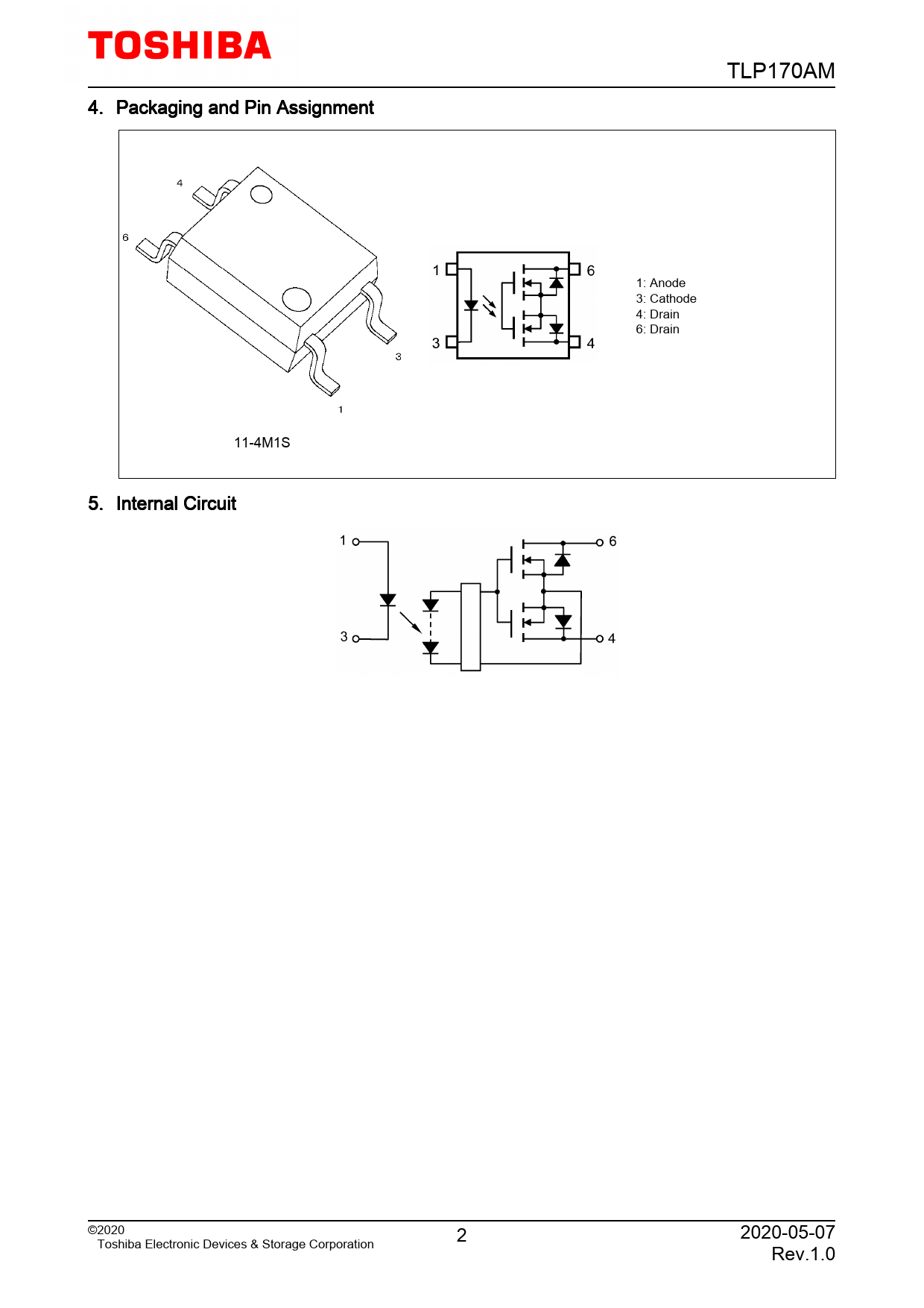
TLP170AM. 4. Packaging. and. Pin. Assignment. 1:. Anode. 3:. Cathode. 4:. Drain. 6:. Drain. 11-4M1S. 5. Internal. Circuit. ©2020. 2. 2020-05-07. Toshiba

Model Line for this Datasheet
Text Version of Document
TLP170AM 4. Packaging and Pin Assignment 1: Anode 3: Cathode 4: Drain 6: Drain 11-4M1S 5. Internal Circuit ©2020 2 2020-05-07 Toshiba Electronic Devices & Storage Corporation Rev.1.0