Datasheet MLX75026 (Melexis) - 7

ManufacturerMelexis
DescriptionQVGA Time-of-Flight Sensor
Pages / Page64 / 7 — MLX75026 QVGA Time-of-Flight Sensor. 2. Sensor Block Diagram
File Format / SizePDF / 3.1 Mb
Document LanguageEnglish

MLX75026 QVGA Time-of-Flight Sensor. 2. Sensor Block Diagram

MLX75026 QVGA Time-of-Flight Sensor 2 Sensor Block Diagram

Model Line for this Datasheet

Text Version of Document

MLX75026 QVGA Time-of-Flight Sensor
PRELIMINARY DATASHEET
2. Sensor Block Diagram
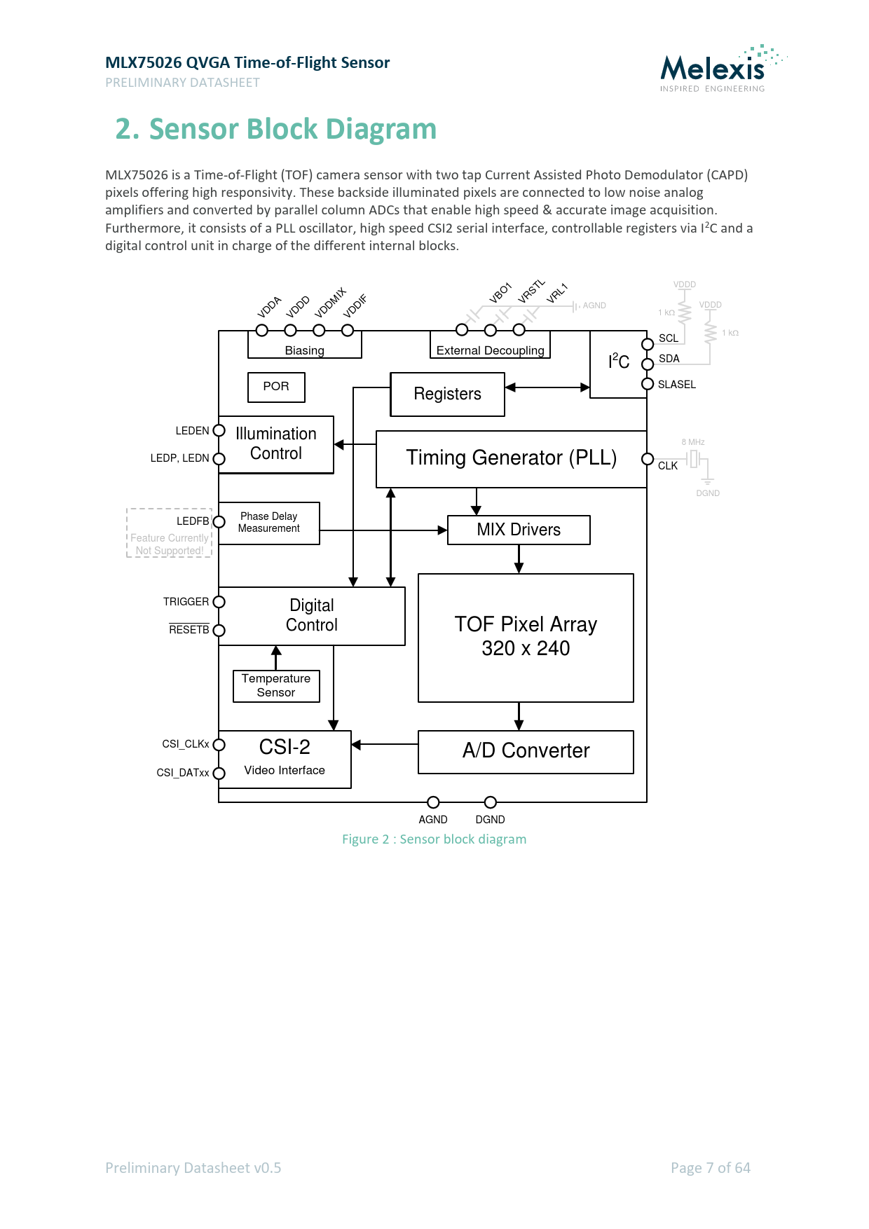
MLX75026 is a Time-of-Flight (TOF) camera sensor with two tap Current Assisted Photo Demodulator (CAPD) pixels offering high responsivity. These backside illuminated pixels are connected to low noise analog amplifiers and converted by parallel column ADCs that enable high speed & accurate image acquisition. Furthermore, it consists of a PLL oscillator, high speed CSI2 serial interface, controllable registers via I2C and a digital control unit in charge of the different internal blocks. 1 TL VDDD IX O S L1 A D M IF B R R V V V D D D D AGND VDDD D D D D V V V V 1 kW 1 kW SCL Biasing External Decoupling I2C SDA POR SLASEL Registers LEDEN Illumination 8 MHz LEDP, LEDN Control Timing Generator (PLL) CLK DGND LEDFB Phase Delay Measurement MIX Drivers Feature Currently Not Supported! TRIGGER Digital RESETB Control TOF Pixel Array 320 x 240 Temperature Sensor CSI_CLKx CSI-2 A/D Converter CSI_DATxx Video Interface AGND DGND Figure 2 : Sensor block diagram Preliminary Datasheet v0.5 Page 7 of 64 Document Outline Table of Contents Document Revision History Ordering Information 1. System Architecture 2. Sensor Block Diagram 3. Electrical Specifications 3.1. Absolute Maximum Ratings 3.2. Typical Operating Conditions 3.3. Video Interface 3.3.1. MIPI DC specification 3.3.2. MIPI AC specification 3.4. Power Consumption 3.5. Maximum Distance Frame Rate 3.6. Decoupling Recommendations 3.7. Power-up Sequence 3.8. Input Clock Requirements 3.9. I2C Specifications 4. Optical Characteristics 4.1. QVGA Pixel Array Configuration 4.2. Pixel & Image Array Characteristics 4.3. CRA (Chief Ray Angle) 4.4. MTF (Modulation Transfer Function) 4.5. Application Lens Design Recommendations 5. Communication Interface(s) 5.1. I2C (Inter-Integrated Circuit) 5.1.1. I2C Timing Sequence 5.1.2. Single I2C Read 5.1.3. Sequential I2C Read 5.1.4. Single I2C Write 5.1.5. Sequential I2C Write 5.1.6. I2C Slave Address 5.2. MIPI Alliance CSI-2 Description 5.2.1. Packet Structure 5.2.2. Data Format RAW12 5.2.2.1. Data Format in 4 Lane MIPI Configuration 5.2.2.2. Data Format in 2 Lane MIPI Configuration 6. Start-up Sequence 6.1. Initialization Process 6.2. Initialization Register Map 7. Register Settings 7.1. Video Output Configuration 7.2. Modes of Operation 7.3. Data Output Modes 7.4. HMAX & Frame Read-Out Time 7.4.1. PLLSSETUP 7.4.2. PRETIME 7.4.3. RANDNM0 7.5. PARAM_HOLD 7.6. USER_ID Register 7.7. Modulation Frequency 7.8. Frame Structure & Frame Rate 7.9. FRAME_STARTUP 7.10. FRAME_TIME 7.11. PHASE_COUNT 7.12. Px_PREHEAT, Px_PREMIX 7.13. Px_INTEGRATION 7.14. Px_PHASE_SHIFT 7.15. Px_PHASE_IDLE (or V-blanking) 7.16. Px_LEDEN 7.17. Px_DMIX0, Px_DMIX1 & Px_STATIC_LED 7.18. Analog Delay Setting 7.18.1. Coarse Delay 7.18.2. Fine Delay 7.18.3. Super Fine 7.19. Pixel Binning 7.20. Region of Interest (ROI) 7.21. Flip & Mirror 7.22. Temperature Sensor 7.23. Pixel & Phase Statistics 7.24. PN9 Test Pattern 7.25. Duty Cycle Adjustment 7.26. Illumination Signal (subLVDS or CMOS) 8. MetaData Description 8.1. Embedded Data Format in 4 Lane MIPI Configuration 8.2. Embedded Data Format in 2 Lane MIPI Configuration 9. Distance & Amplitude Calculation 10. Package Outline 10.1. Pinout & Equivalent I/O Circuitry 10.2. Mechanical Dimensions 10.3. PCB Landing Pattern & Layout Recommendations 10.4. Package Marking 10.5. Cover Tape Removal Disclaimer