Datasheet BL8506 (Belling) - 9

ManufacturerBelling
DescriptionHigh-Precision Low Voltage Detector
Pages / Page19 / 9 — BL8506. TEST CIRCUITS. www.belling.com.cn 9
File Format / SizePDF / 876 Kb
Document LanguageEnglish

BL8506. TEST CIRCUITS. www.belling.com.cn 9

BL8506 TEST CIRCUITS www.belling.com.cn 9

Model Line for this Datasheet

BL8506

Text Version of Document

BL8506
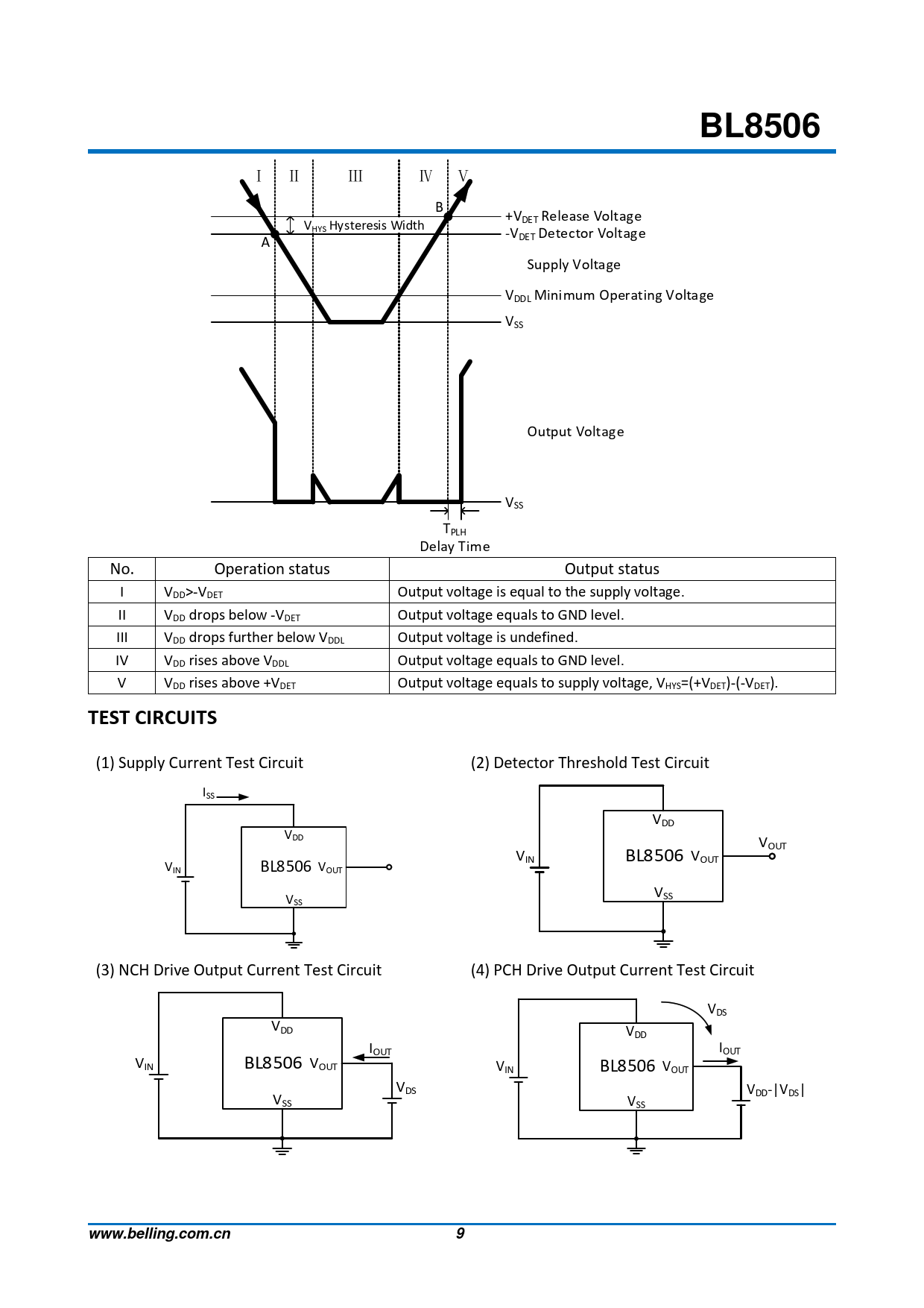
Ⅰ Ⅱ Ⅲ Ⅳ Ⅴ B +VDET Release Voltag e VHYS Hysteresis Width -V A DET Detector Voltage Supply Voltage VDDL Minimum Operating Voltage VSS Output Voltage VSS TPLH Delay Time No. Operation status Output status I VDD>-VDET Output voltage is equal to the supply voltage. II VDD drops below -VDET Output voltage equals to GND level. III VDD drops further below VDDL Output voltage is undefined. IV VDD rises above VDDL Output voltage equals to GND level. V VDD rises above +VDET Output voltage equals to supply voltage, VHYS=(+VDET)-(-VDET).
TEST CIRCUITS
(1) Supply Current Test Circuit (2) Detector Threshold Test Circuit ISS VDD VDD VOUT VIN BL8506 VOUT VIN BL8506 VOUT V VSS SS (3) NCH Drive Output Current Test Circuit (4) PCH Drive Output Current Test Circuit VDS VDD VDD IOUT IOUT VIN BL8506 VOUT VIN BL8506 VOUT VDS V V DD-|VDS| SS VSS
www.belling.com.cn 9