Datasheet TLP5814H (Toshiba) - 7
| Manufacturer | Toshiba |
| Description | Photocoupler |
| Pages / Page | 21 / 7 — TLP5814H. 13. Test. Circuits. and. Characteristics. Curves. 13.1. Test. … |
| File Format / Size | PDF / 4.2 Mb |
| Document Language | English |
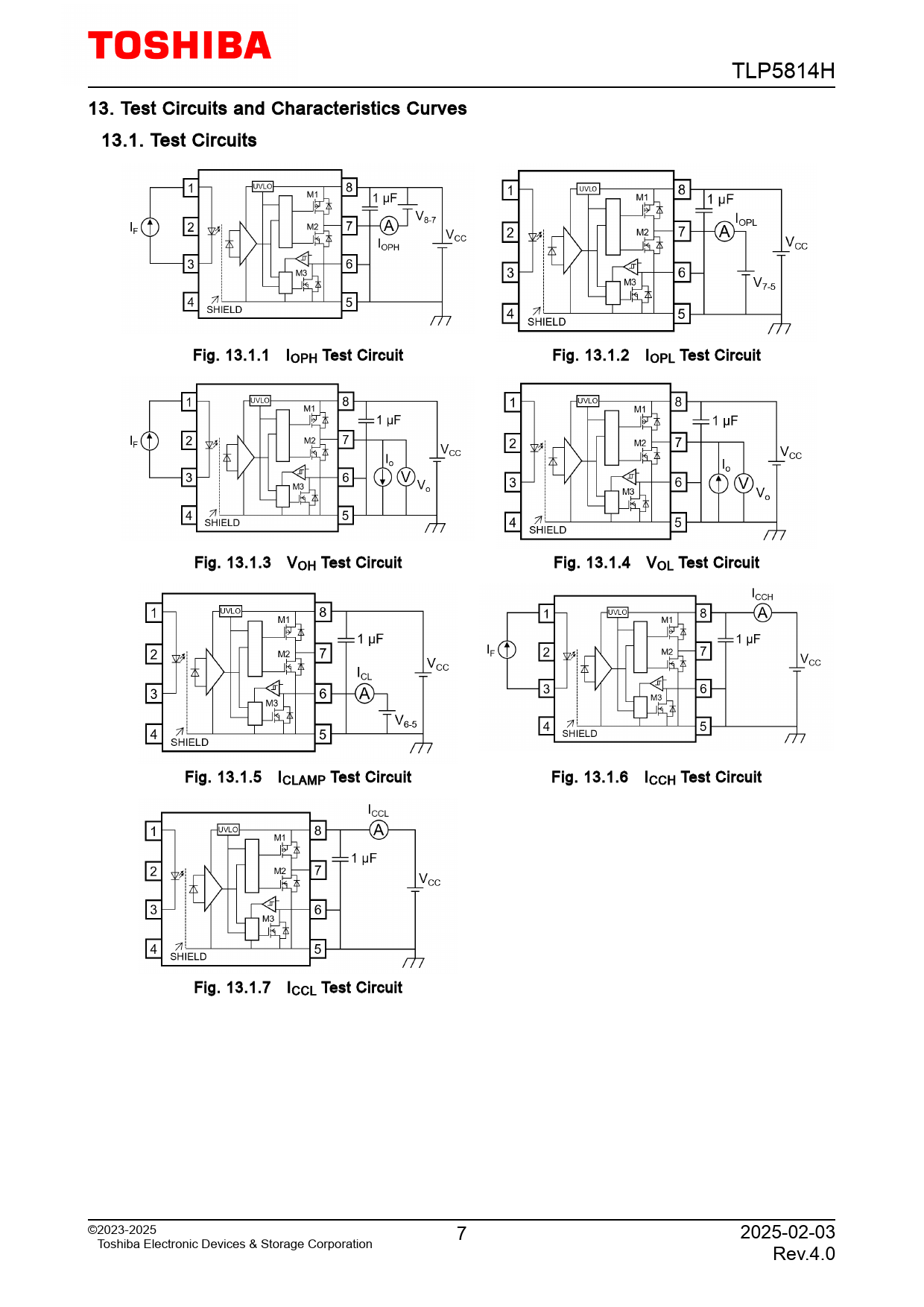
TLP5814H. 13. Test. Circuits. and. Characteristics. Curves. 13.1. Test. Circuits. Fig. 13.1.1. IOPH. Test. Circuit. Fig. 13.1.2. IOPL. Test. Circuit. Fig. 13.1.3

Model Line for this Datasheet
Text Version of Document
TLP5814H 13. Test Circuits and Characteristics Curves 13.1. Test Circuits Fig. 13.1.1 IOPH Test Circuit Fig. 13.1.2 IOPL Test Circuit Fig. 13.1.3 VOH Test Circuit Fig. 13.1.4 VOL Test Circuit Fig. 13.1.5 ICLAMP Test Circuit Fig. 13.1.6 ICCH Test Circuit Fig. 13.1.7 ICCL Test Circuit ©2023-2025 7 2025-02-03 Toshiba Electronic Devices & Storage Corporation Rev.4.0