Datasheet LT3579, LT3579-1 (Analog Devices) - 8
| Manufacturer | Analog Devices |
| Description | 6A Boost/Inverting DC/DC Converter with Fault Protection |
| Pages / Page | 42 / 8 — BLOCK DIAGRAM. Figure 1. Block Diagram |
| Revision | B |
| File Format / Size | PDF / 1.1 Mb |
| Document Language | English |
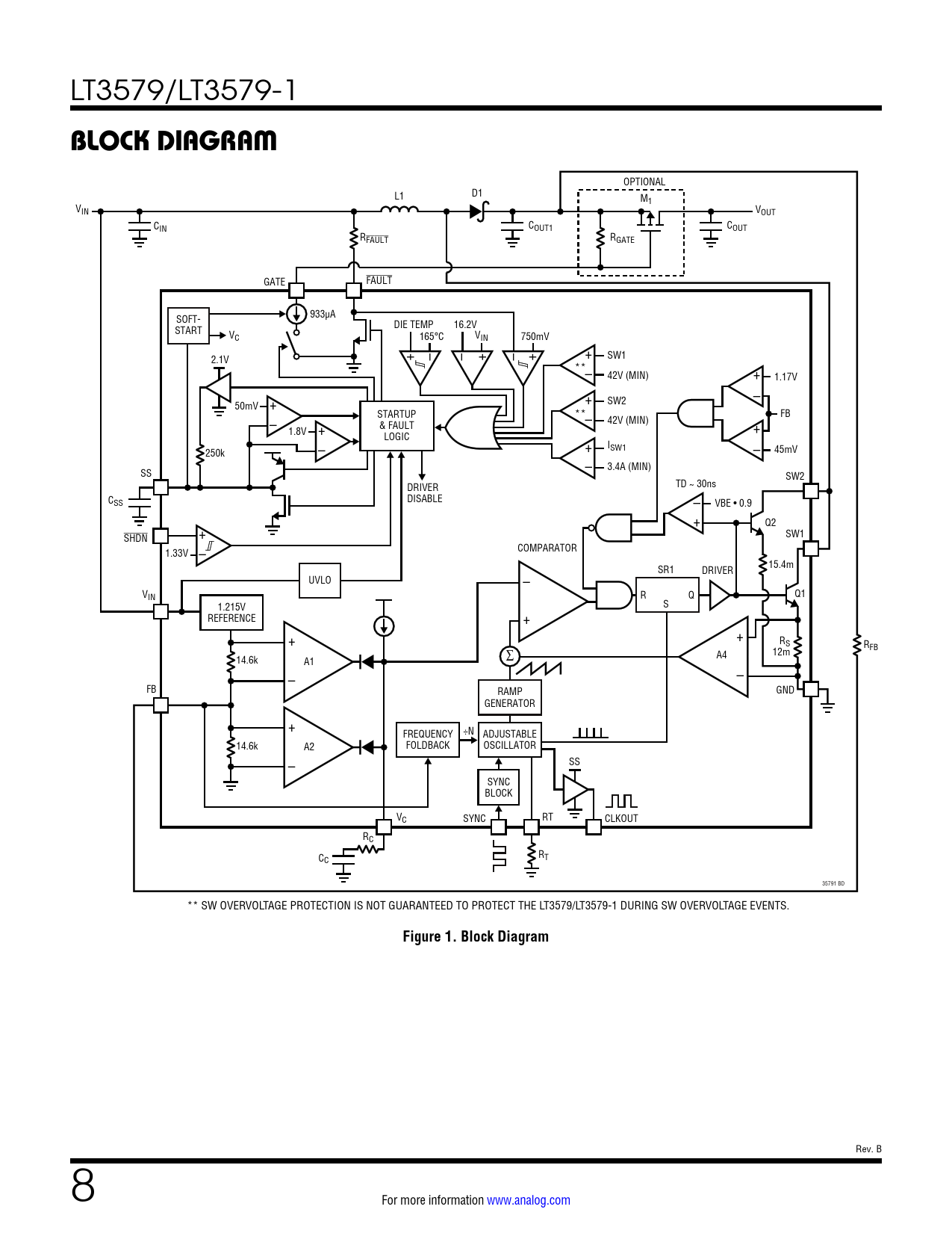
BLOCK DIAGRAM. Figure 1. Block Diagram

Model Line for this Datasheet
Text Version of Document
LT3579/LT3579-1
BLOCK DIAGRAM
OPTIONAL L1 D1 M1 VIN VOUT C C IN OUT1 COUT RFAULT RGATE GATE FAULT SOFT- 933µA DIE TEMP 16.2V START VC 165°C VIN 750mV + – – + – + 2.1V + SW1 ** + – 42V (MIN) 1.17V – + 50mV + SW2 STARTUP ** FB & FAULT – 42V (MIN) + – 1.8V + LOGIC I – + SW1 45mV 250k – – 3.4A (MIN) SS SW2 DRIVER TD ~ 30ns C DISABLE – SS VBE • 0.9 + Q2 SHDN + SW1 COMPARATOR 1.33V – SR1 15.4m DRIVER UVLO – VIN R Q Q1 A3 1.215V S REFERENCE + + + RS R 12m FB 14.6k A4 ∑ A1 – – FB RAMP GND GENERATOR + FREQUENCY ÷N ADJUSTABLE 14.6k A2 FOLDBACK OSCILLATOR SS – SYNC BLOCK VC SYNC RT CLKOUT RC R C T C 35791 BD ** SW OVERVOLTAGE PROTECTION IS NOT GUARANTEED TO PROTECT THE LT3579/LT3579-1 DURING SW OVERVOLTAGE EVENTS.
Figure 1. Block Diagram
Rev. B 8 For more information www.analog.com Document Outline Features Applications Description Typical Application Absolute Maximum Ratings Pin Configuration Order Information Electrical Characteristics Typical Performance Characteristics Pin Functions Block Diagram State Diagram Operation Applications Information Appendix Typical Application Package Description Typical Application Related Parts Features Applications Typical Application Description Absolute Maximum Ratings Pin Configuration Order Information Electrical Characteristics Typical Performance Characteristics Pin Functions Block Diagram State Diagram Operation Applications Information Appendix Typical Application Package Description Revision History Typical Application Related Parts