Datasheet ALED1262ZT (STMicroelectronics) - 9
| Manufacturer | STMicroelectronics |
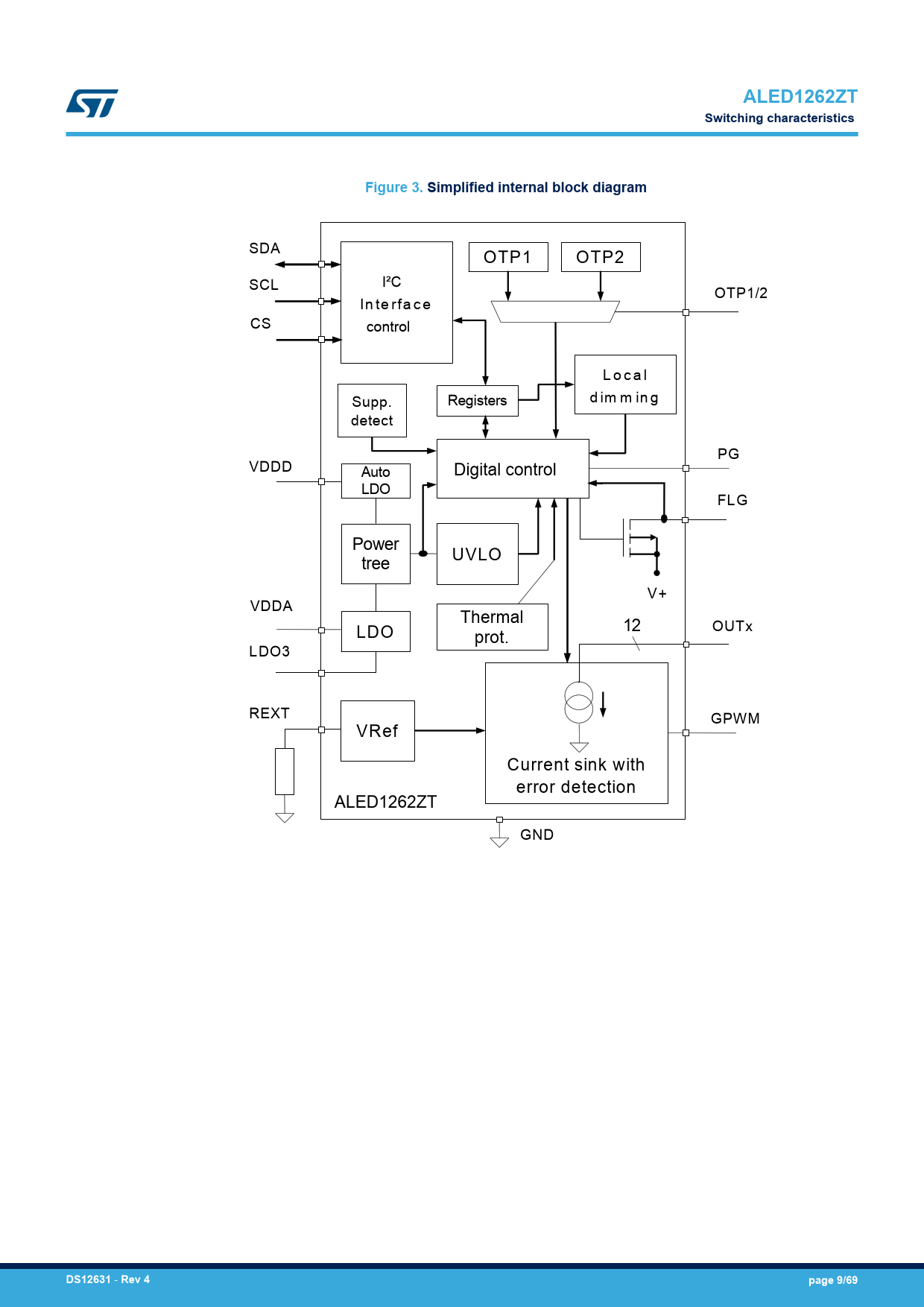
| Description | Automotive-grade 12-channel LED driver with open detection, local dimming, busdriven and standalone operations |
| Pages / Page | 69 / 9 — ALED1262ZT. Switching characteristics. Figure 3. Simplified internal … |
| File Format / Size | PDF / 3.4 Mb |
| Document Language | English |
ALED1262ZT. Switching characteristics. Figure 3. Simplified internal block diagram. DS12631. Rev 4. page 9/69

Model Line for this Datasheet
Text Version of Document
ALED1262ZT Switching characteristics Figure 3. Simplified internal block diagram
SDA OTP1 OTP2 SCL I²C OTP1/2 In te rfa c e CS control L o c a l d im m in g Supp. Registers detect PG VDDD Auto Digital control LDO FLG Power tree UVLO V+ VDDA Thermal 12 OUTx LDO prot. LDO3 REXT GPWM VRef Current sink with error detection ALED1262ZT GND
DS12631
-
Rev 4 page 9/69
Document Outline 1 Pin description 2 Absolute maximum ratings 3 Thermal characteristics 4 Electrical characteristics 4.1 Switching characteristics 5 Device pin functions 6 Driver dropout voltage 7 Device functional description 8 Error detection 9 Gradual output delay 10 Thermal warning and protection 11 Device local dimming function 12 Local dimming non-linear step table 13 Register descriptions 13.1 BDM_conf_1 / Enable_CH_1 register 13.2 BDM_conf_2 / Enable_CH_2 register 13.3 BDM_status register 13.4 Faulty_ch_1 register 13.5 Faulty_ch_2 register 13.6 PWM_gain_x register 13.7 LDD register (LED driver device versioning) 13.8 OTP/SAM_conf_1_2 register 13.9 OTP/SAM_conf_1 register 13.10 OTP/SAM_conf_2 register 13.11 OTP/BA_n_SAM_setting register 14 I²C bus operations 14.1 I²C main concepts 15 I²C addressing for the ALED1262ZT 16 I²C selectable Hamming (8, 4) encoding 17 Message structure 17.1 Available commands 17.2 Pattern symbols 17.3 Write operations 17.3.1 BDM configuration register write 17.3.2 FAULTY_ch1[7] bit register write (prescaler) 17.3.3 PWM_gain_x register write 17.3.4 BDM_conf and PWM_gain_x register write 17.3.5 Direct write on registers 17.4 Read operations 17.4.1 Status register 17.4.2 Faulty_ch registers 17.4.3 PWM_gain_x registers 17.4.4 BDM_conf, status, Faulty_ch, PWM_gain_x registers 17.4.5 Direct read from registers 18 OTP operations 18.1 OTP emulate 18.2 OTP burn 18.3 OTP read 19 I²C communication examples 19.1 Communication without parity detection 19.1.1 OTP burning with double zap and read back 19.1.2 All LEDs with power-ON 19.1.3 110 Hz dimming prescaler bit 19.1.4 All LEDs with PWM dimming at 50% (full configuration) 19.1.5 Device status read back 19.1.6 Device full status read back 19.1.7 LDD read back (device identifier) 19.2 Communication with parity detection 19.2.1 All LEDs with power-ON 20 LED supply voltage 21 Higher current requests (outputs in parallel) 22 PCB layout and external component guidelines 22.1 Signal integrity and EMI radiated/conducted immunity 22.2 Radiated emission reduction (EMI) 22.3 Device thermal management 22.4 PCB layout example 23 Package information 23.1 HTSSOP24 exposed pad package information Revision history