Datasheet KSZ8873MML (Microchip) - 4

ManufacturerMicrochip
DescriptionIntegrated 3-Port 10/100 Managed Switch with PHY
Pages / Page91 / 4 — KSZ8873MML. 1.0. INTRODUCTION. 1.1. General Description. FIGURE 1-1:. …
File Format / SizePDF / 1.3 Mb
Document LanguageEnglish

KSZ8873MML. 1.0. INTRODUCTION. 1.1. General Description. FIGURE 1-1:. SYSTEM BLOCK DIAGRAM

KSZ8873MML 1.0 INTRODUCTION 1.1 General Description FIGURE 1-1: SYSTEM BLOCK DIAGRAM

Model Line for this Datasheet

Text Version of Document

KSZ8873MML 1.0 INTRODUCTION 1.1 General Description
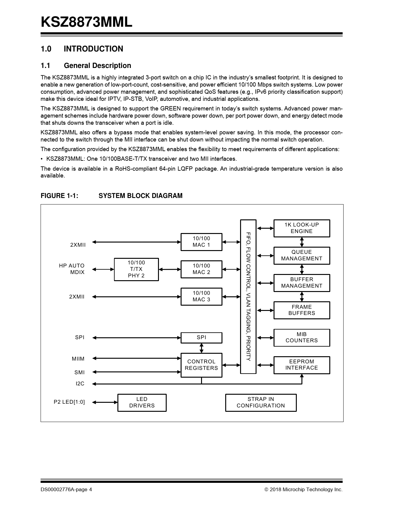
The KSZ8873MML is a highly integrated 3-port switch on a chip IC in the industry’s smallest footprint. It is designed to enable a new generation of low-port-count, cost-sensitive, and power efficient 10/100 Mbps switch systems. Low power consumption, advanced power management, and sophisticated QoS features (e.g., IPv6 priority classification support) make this device ideal for IPTV, IP-STB, VoIP, automotive, and industrial applications. The KSZ8873MML is designed to support the GREEN requirement in today’s switch systems. Advanced power man- agement schemes include hardware power down, software power down, per port power down, and energy detect mode that shuts downs the transceiver when a port is idle. KSZ8873MML also offers a bypass mode that enables system-level power saving. In this mode, the processor con- nected to the switch through the MII interface can be shut down without impacting the normal switch operation. The configuration provided by the KSZ8873MML enables the flexibility to meet requirements of different applications: • KSZ8873MML: One 10/100BASE-T/TX transceiver and two MII interfaces. The device is available in a RoHS-compliant 64-pin LQFP package. An industrial-grade temperature version is also available.
FIGURE 1-1: SYSTEM BLOCK DIAGRAM
1K LOOK-UP F ENGINE FI 10/100 O 2XMII MAC 1 F , L O QUEUE W MANAGEMENT 10/100 C HP AUTO 10/100 O T/TX N MDIX MAC 2 T PHY 2 R BUFFER O L MANAGEMENT V , 10/100 L 2XMII A MAC 3 N T FRAME A G BUFFERS G NI G P , MIB SPI SPI R COUNTERS OI R TI Y MIIM CONTROL EEPROM REGISTERS INTERFACE SMI I2C LED STRAP IN P2 LED[1:0] DRIVERS CONFIGURATION DS00002776A-page 4  2018 Microchip Technology Inc. Document Outline 1.0 Introduction 1.1 General Description 2.0 Pin Description and Configuration 3.0 Functional Description 3.1 Physical Layer Transceiver 3.2 Power Management 3.3 MAC and Switch 3.4 Advanced Switch Functions 3.5 Spanning Tree Support 3.6 Rapid Spanning Tree Support 3.7 Tail Tagging Mode 3.8 IGMP Support 3.9 Port Mirroring Support 3.10 Rate Limiting Support 3.11 Unicast MAC Address Filtering 3.12 Configuration Interface 3.13 Loopback Support 4.0 Register Descriptions 4.1 MII Management (MIIM) Registers 4.2 Register Descriptions 4.3 Memory Map (8-Bit Registers) 4.4 Register Descriptions 4.5 Advanced Control Registers (Registers 96-198) 4.6 Static MAC Address Table 4.7 VLAN Table 4.8 Dynamic MAC Address Table 4.9 Management Information Base (MIB) Counters 5.0 Operational Characteristics 5.1 Absolute Maximum Ratings* 5.2 Operating Ratings** 6.0 Electrical Characteristics 7.0 Timing Specifications 7.1 EEPROM Timing 7.2 MAC Mode MII Timing 7.3 PHY Mode MII Timing 7.4 I2C Slave Mode Timing 7.5 SPI Timing 7.6 Auto-Negotiation Timing 7.7 MDC/MDIO Timing 7.8 Reset Timing 8.0 Reset Circuit 9.0 Selection of Isolation Transformers 10.0 Package Outline 10.1 Package Marking Information Appendix A: Data Sheet Revision History The Microchip Web Site Customer Change Notification Service Customer Support Product Identification System Worldwide Sales and Service