Datasheet AP22652, AP22653, AP22652A, AP22653A (Diodes) - 3
| Manufacturer | Diodes |
| Description | Precision Adjustable Current-Limited Power Switches |
| Pages / Page | 17 / 3 — AP22652/AP22653/AP22652A/AP22653A. Functional Block Diagram. AP22652/. … |
| File Format / Size | PDF / 1.1 Mb |
| Document Language | English |
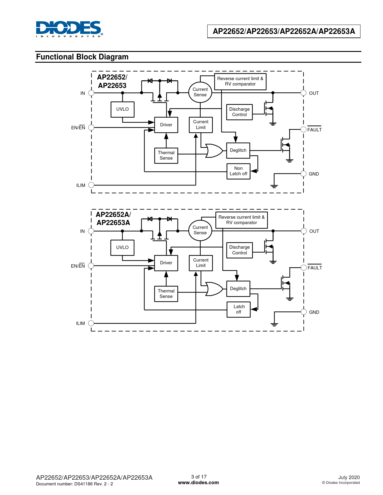
AP22652/AP22653/AP22652A/AP22653A. Functional Block Diagram. AP22652/. AP22653. AP22652A/. AP22653A. www.diodes.com

Model Line for this Datasheet
Text Version of Document
AP22652/AP22653/AP22652A/AP22653A Functional Block Diagram AP22652/
Reverse current limit &
AP22653
RV comparator Current IN OUT Sense UVLO Discharge Control Current Driver EN/EN Limit FAULT Deglitch Thermal Sense Non Latch off GND ILIM
AP22652A/
Reverse current limit &
AP22653A
RV comparator Current IN OUT Sense UVLO Discharge Control Current Driver EN/EN Limit FAULT Deglitch Thermal Sense Latch off GND ILIM AP22652/AP22653/AP22652A/AP22653A 3 of 17 July 2020 Document number: DS41186 Rev. 2 - 2
www.diodes.com
© Diodes Incorporated