Minimizing Switching Regulator Residue in Linear Regulator Outputs (Linear Technology) - 3

AuthorsJim Williams
ManufacturerLinear Technology
DescriptionApplication Note 101. Linear regulators are commonly employed to post-regulate switching regulator outputs. Benefits include improved stability, accuracy, transient response and lowered output impedance. Ideally, these performance gains would be accompanied by markedly reduced switching regulator generated ripple and spikes. In practice, all linear regulators encounter some difficulty with ripple and spikes, particularly as frequency rises. This publication explains the causes of linear regulators' dynamic limitations and presents board level techniques for improving ripple and spike rejection. A hardware based ripple/spike simulator is presented, enabling rapid breadboard testing under various conditions. Three appendices review ferrite beads, inductor based filters and probing practice for wideband, sub-millivolt signals.
Pages / Page12 / 3 — Figure 4. Conceptual Linear Regulator Showing High Frequency Rejection …
File Format / SizePDF / 358 Kb
Document LanguageEnglish

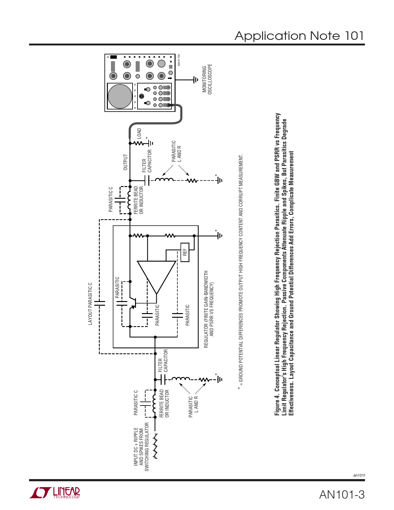
Figure 4. Conceptual Linear Regulator Showing High Frequency Rejection Parasitics. Finite GBW and PSRR vs Frequency

Figure 4 Conceptual Linear Regulator Showing High Frequency Rejection Parasitics Finite GBW and PSRR vs Frequency

Text Version of Document

Application Note 101 AN101 F04 MONITORING OSCILLOSCOPE LOAD * PARASITIC L AND R OUTPUT FILTER CAPACITOR * PARASITIC C FERRITE BEAD OR INDUCTOR REF PARASITIC LAYOUT PARASITIC C PARASITIC PARASITIC AND PSRR VS FREQUENCY) REGULATOR (FINITE GAIN-BANDWIDTH FILTER CAPACITOR ** * = GROUND POTENTIAL DIFFERENCES PROMOTE OUTPUT HIGH FREQUENCY CONTENT AND CORRUPT MEASUREMENT. L AND R PARASITIC C
Figure 4. Conceptual Linear Regulator Showing High Frequency Rejection Parasitics. Finite GBW and PSRR vs Frequency Limit Regulator's High Frequency Rejection. Passive Components Attenuate Ripple and Spikes, But Parasitics Degrade Effectiveness. Layout Capacitance and Ground Potential Differences Add Errors, Complicate Measurement
FERRITE BEAD OR INDUCTOR PARASITIC INPUT DC + RIPPLE AND SPIKES FROM SWITCHING REGULATOR an101f AN101-3