Linear Technology Announces High Speed ADC

Linear Technology LTC228x

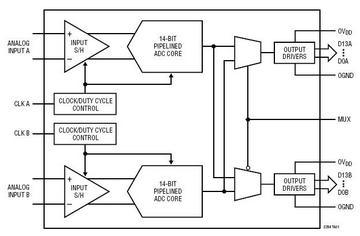
The LTC2284 by Linear Technology is a 14-bit 105 Msps, low power dual 3V A/D converter designed for digitizing high frequency, wide dynamic range signals. The LTC2284 is perfect for demanding imaging and communications applications with AC performance that includes 72.4 dB SNR and 85 dB SFDR for signals at the Nyquist frequency.

Typical DC specs include ±1.5LSB INL, ±0.6LSB DNL. The transition noise is a low 1.3LSBRMS.

A single 3V supply allows low power operation. A separate output supply allows the outputs to drive 0.5V to 3.6V logic.

A single-ended CLK input controls converter operation. An optional clock duty cycle stabilizer allows high performance at full speed for a wide range of clock duty cycles.

  • Integrated Dual 14-Bit ADCs
  • Sample Rate: 105Msps
  • Single 3V Supply (2.85V to 3.4V)
  • Low Power: 540mW
  • 72.4dB SNR, 88dB SFDR
  • 110dB Channel Isolation at 100MHz
  • Flexible Input: 1VP-P to 2VP-P Range
  • 575MHz Full Power Bandwidth S/H
  • Clock Duty Cycle Stabilizer
  • Shutdown and Nap Modes
  • Pin Compatible Family
    105Msps: LTC2282 (12-Bit), LTC2284 (14-Bit)
    80Msps: LTC2294 (12-Bit), LTC2299 (14-Bit)
    65Msps: LTC2293 (12-Bit), LTC2298 (14-Bit)
    40Msps: LTC2292 (12-Bit), LTC2297 (14-Bit)
    25Msps: LTC2291 (12-Bit), LTC2296 (14-Bit)
    10Msps: LTC2290 (12-Bit), LTC2295 (14-Bit)
  • 64-Pin (9mm × 9mm) QFN Package

Typical Application

Typical application LTC2284

Datasheet (*.pdf)